EasyManua.ls Logo

SNBC BTP-M300 - Page 54

SNBC BTP-M300
61 pages
Print Icon
To Next Page IconTo Next Page
To Next Page IconTo Next Page
To Previous Page IconTo Previous Page
To Previous Page IconTo Previous Page
Loading...
BTP-M300 Service Manual
- 49 -
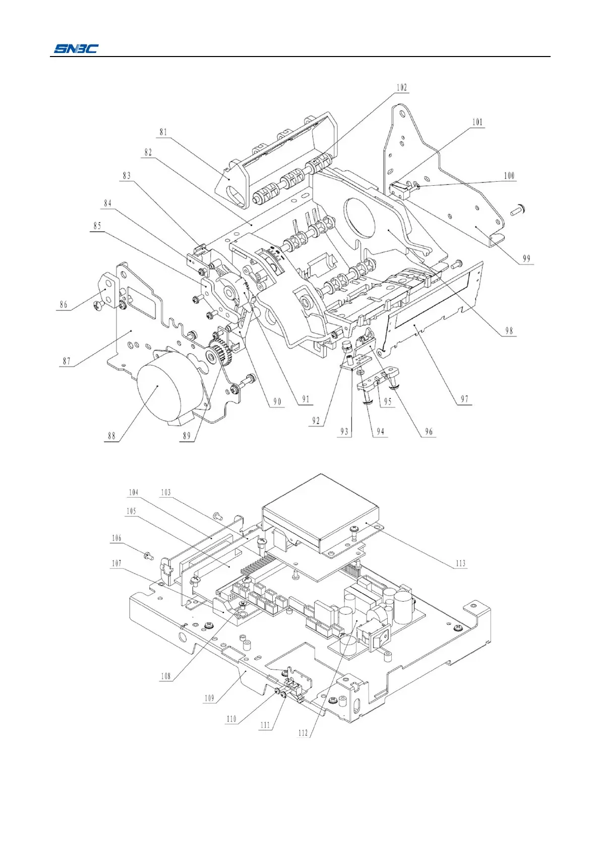
5) Exploded drawing of paper cabinet module
6) Exploded drawing of control board box module

Table of Contents