EasyManua.ls Logo

Soredex CRANEX Novus e - 2 Unit Description; Main Parts

Soredex CRANEX Novus e
80 pages
Print Icon
To Next Page IconTo Next Page
To Next Page IconTo Next Page
To Previous Page IconTo Previous Page
To Previous Page IconTo Previous Page
Loading...
User manual 208898 3
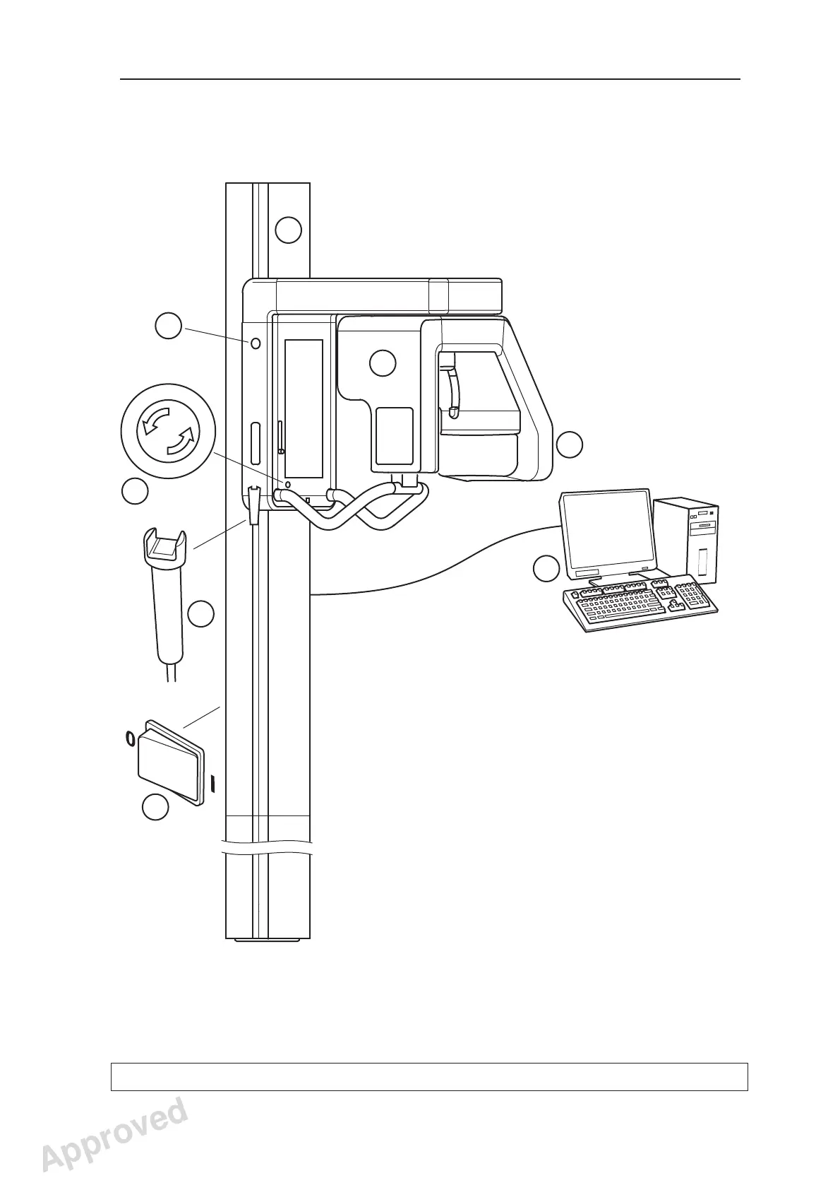
CRANEX Novus e 2. Unit description
2. Unit description
2.1 Main parts
1. Exposure warning light
2. Emergency stop button
(Press to stop, rotate to release)
3. Exposure switch
4. On / off switch (rear of column)
5. Column
6. Sensor
7. Tubehead
(Tubehead + sensor = Rotating unit)
8. PC with MDD compliant imaging software
E
m
e
r
g
e
n
c
y
s
t
o
p
E
m
e
r
g
e
n
c
y
s
t
o
p
1
3
4
5
6
7
8
2
Approved: Ukkonen Juha-Pekka 2015-03-13 13:08
Reviewed: Savinen Antti Juhani 2015-03-12 11:32
Approved
See PDM system to determine the status of this document. Printed out: 2016-01-27 12:19:26
D508980, 4
Copyright © 2015 by PaloDEx Group Oy. All rights reserved.

Table of Contents

Other manuals for Soredex CRANEX Novus e

Related product manuals