EasyManua.ls Logo

strapex SMA 30 - Page 57

strapex SMA 30
Print Icon
To Next Page IconTo Next Page
To Next Page IconTo Next Page
To Previous Page IconTo Previous Page
To Previous Page IconTo Previous Page
Loading...
03.11
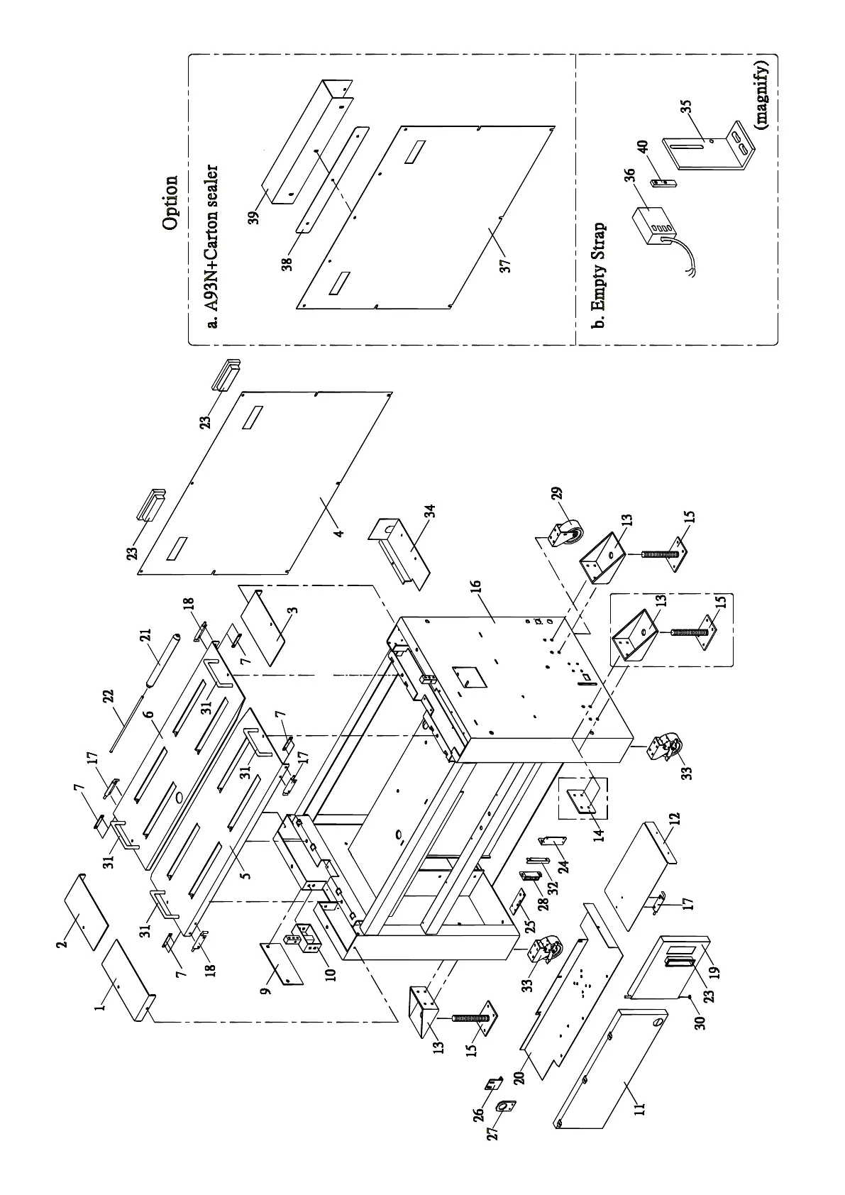
Fig. D Maschinengestell, Teil 1 Machine frame, part 1 Bâti de la machine, partie 1
57

Table of Contents

Related product manuals