EasyManua.ls Logo

Stryker Power-PRO XT - Selecting the Vehicle Safety Hook

Stryker Power-PRO XT
87 pages
Print Icon
To Next Page IconTo Next Page
To Next Page IconTo Next Page
To Previous Page IconTo Previous Page
To Previous Page IconTo Previous Page
Loading...
www.stryker.com 6506-209-001 REV F 21
Installation
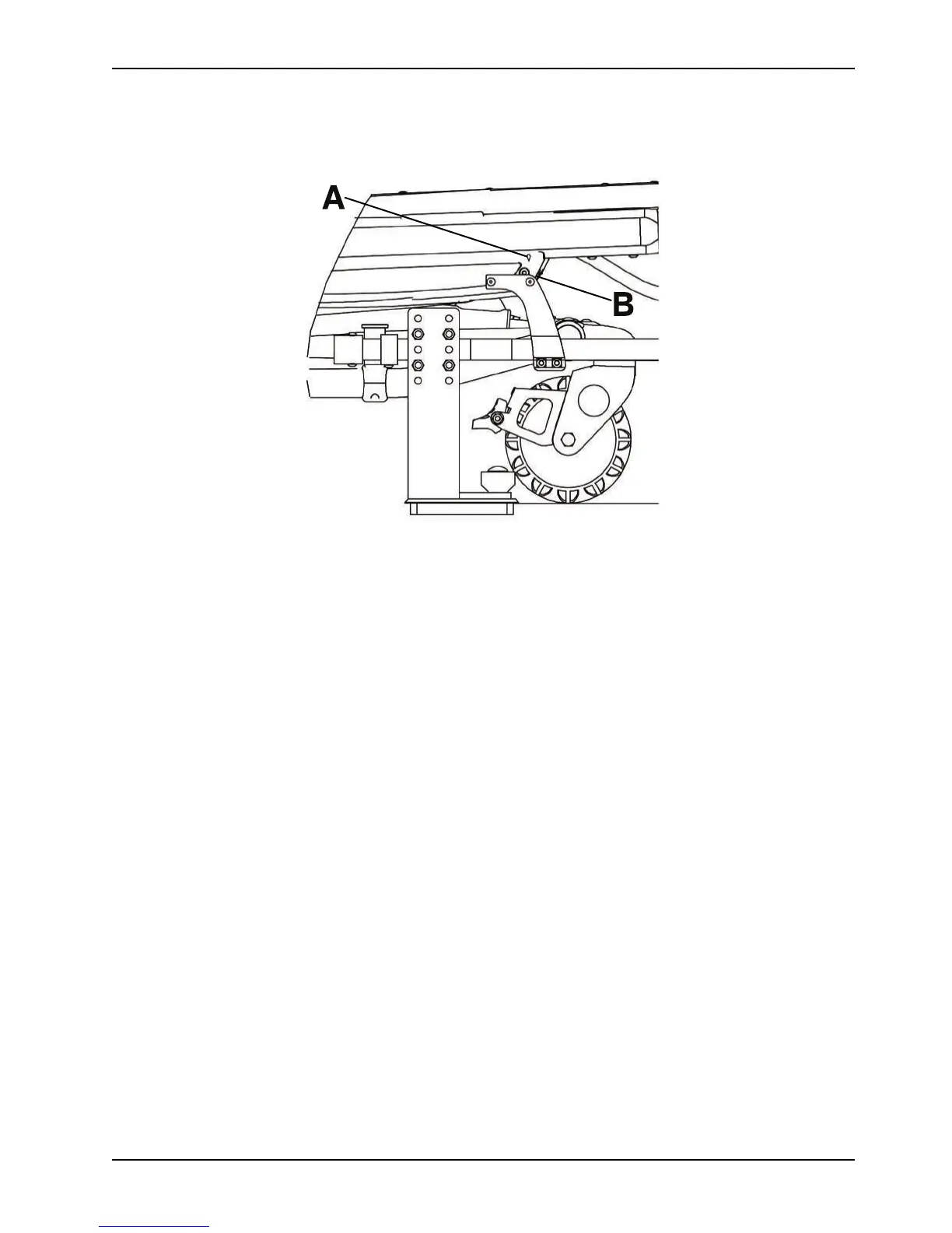
Installing the in-fastener shut-off (Continued)
A
B
Figure 6: Adjust shut-off bracket
Selecting the vehicle safety hook
The vehicle safety hook is a device that ships with the cot. The cot safety bar and vehicle safety hook keep the cot from
being accidentally removed from the vehicle and provide increased operator assurance and confidence when loading
and unloading.
Note: These instructions are intended for cots with antler style cot fastener systems. For crash-rated cot fasteners, see
the appropriate Operations Manual for installation instructions. Crash-rated cot fasteners are shipped and installed with
their own vehicle safety hook, thus no additional hook is needed.
The vehicle safety hook was designed for compatibility and proper operation when loading and unloading the cot from a
vehicle that is compliant with Federal Regulation KKK-A-1822. Stryker offers three different types of vehicle safety hooks
that are ordered and shipped with your cot. These vehicle safety hook types meet the needs of various emergency
vehicle configurations, specifically the length and location of the floor structure support that is located in the rear of the
vehicle.
To select which vehicle safety hook is appropriate for your vehicle configuration:
Consider the location of the floor structure support where there is adequate room to mount the vehicle safety hook.
Mount the vehicle safety hook into the back of the vehicle. Provide bumper clearance to allow the operators to load
and unload the cot from the vehicle.
Note the differences in vehicle design. Each vehicle safety hook provides a different mounting location option to
maintain the appropriate distance between the face of the vehicle safety hook and the edge of the door sill.
Due to the differences in vehicle dimensions and the floor structure support locations, each vehicle safety hook allows
for a different mounting location. Select the correct position for your vehicle safety hook installation.
Positioning of the vehicle safety hook, front to back on page 23
Positioning of the vehicle safety hook, side to side on page 24
Note: When you replace an existing vehicle safety hook with a new style, adjust the mounting location to maintain the
proper position of the vehicle safety hook face.

Table of Contents

Other manuals for Stryker Power-PRO XT

Related product manuals