EasyManua.ls Logo

Suntex PC-3310 - 6 Settings; Security Code of Settings

Suntex PC-3310
56 pages
Print Icon
To Next Page IconTo Next Page
To Next Page IconTo Next Page
To Previous Page IconTo Previous Page
To Previous Page IconTo Previous Page
Loading...
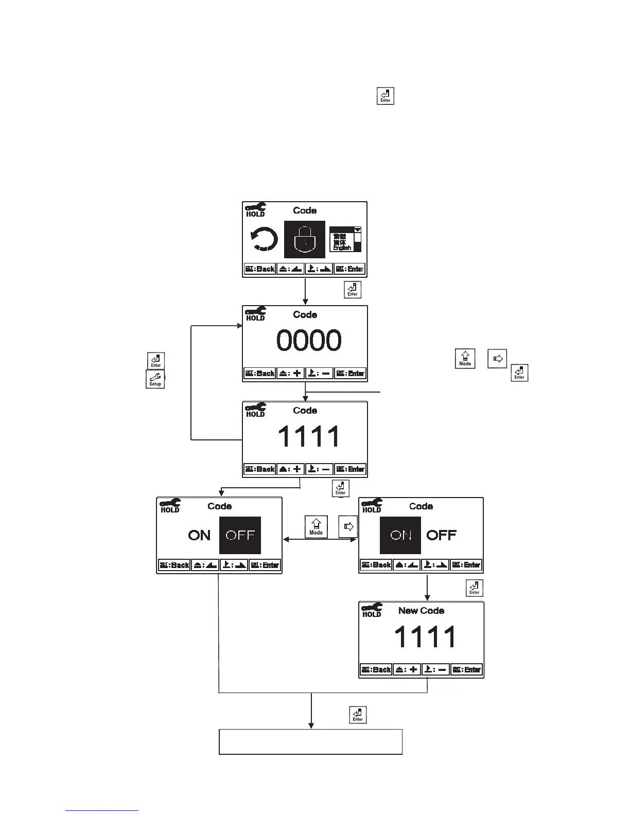
6.2 Security code of settings
After entering set-up mode, select “code” item, press to enter into code
procedure. The code pre-setting is 1111.
Note: The code of setting mode is prior to the code for calibration. That means that
the code of setting mode can be used for the code of calibration mode.
Enter “Language” Setup
Press or
Press to confirm it.
When a wrong password is
keyed in, the display shows
“Error Code”, press to
re-key in it, or press to
exit.
The first ‘0” of digits ‘0000” start
to twinkle. Press or to
adjust the value, and then press
to confirm it and continually key
in the next digit, and so on.
(Select to turn on or turn off
code protection function. If
you select turn on, please
key in a new code. There
will be a code requirement
showing in display when you
re-enter to the setup mode.
Key in the correct password
to enter into setup mode.)
Key in new password
Press to confirm it.
Press to confirm it.
Press to confirm it.
лн

Table of Contents

Related product manuals