EasyManua.ls Logo

Suntex PC-3310 - Multi-Cal

Suntex PC-3310
56 pages
Print Icon
To Next Page IconTo Next Page
To Next Page IconTo Next Page
To Previous Page IconTo Previous Page
To Previous Page IconTo Previous Page
Loading...
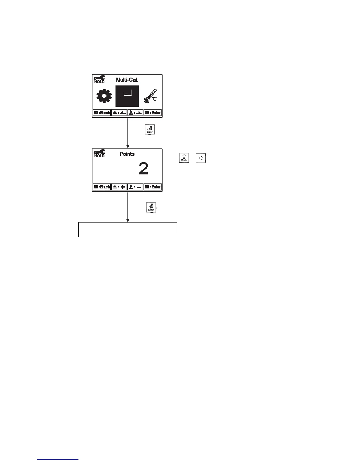
6.5 Multi-Cal
Enter setup of multi-points calibration to set the number of calibration points. This function
only applies to pH mode.
Enter ”Temperature” Setup
Press or to select the number of calibration points. There are
1~3 points to choose from. The factory default is 2 points. When the
calibration reaches the number of setting points, the calibration
procedure will automatically finish and display the calibration result.
ġġġġ
Press to confirm it.
Press to confirm it.
лр

Table of Contents