EasyManua.ls Logo

Suntex PC-3310 - Clean

Suntex PC-3310
56 pages
Print Icon
To Next Page IconTo Next Page
To Next Page IconTo Next Page
To Previous Page IconTo Previous Page
To Previous Page IconTo Previous Page
Loading...
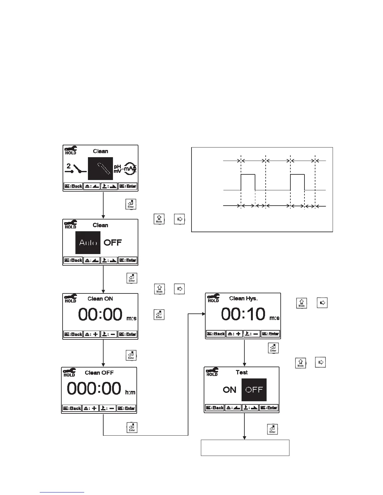
6.9 Clean
Enter setup of “Clean” function. Select the icon to turn on or turn off the clean function. If you
select “Auto” turning on, then set the timer of the clean function including automatically turning on
time and turning off time, and set the Hysteresis value(Hys.).
Note: When the clean function is turned on, if any value is set to be 0, the instrument will automatically turn
off this function. When the clean function is activated under measurement mode, there is a “Clean Running”
message showing on top of the display. The measurement value will be remained at the last measured value
before cleaning. If enter setting menu or calibration menu under clean status, the instrument will stop clean
status automatically.
Press ġ or
to adjust the auto
turning on time.
Press to
confirm the
minute part, and
move to adjust
the second part.
Press to confirm it.
Press to confirm it.
Press to confirm it.
Press to confirm it.
Press to confirm it.
Press ġ or to
select to activate a test of
Clean or not. If “ON”, the
Clean function is in
action, and the “ACT”
indication light will light
up.
Press ġ or
to select to activate
Clean or not. If
not, the guide
menu goes to setup
of Analog 1.
Press to confirm it.
Press or
to adjust Hysteresis
(Hys.) value
Enter “Analog 1” Setup
on off on off on
off off
on on
off
T
on
T
hys
T
off
T
on
T
hys
T
off
T
off
Clean Timer Control
Relay
Contact
Timer
Settin
g
s
Measure-
ment
мк

Table of Contents

Related product manuals