EasyManua.ls Logo

TDE MACNO OPD EXP - Page 109

Default Icon
124 pages
Print Icon
To Next Page IconTo Next Page
To Next Page IconTo Next Page
To Previous Page IconTo Previous Page
To Previous Page IconTo Previous Page
Loading...
109
User’s manual
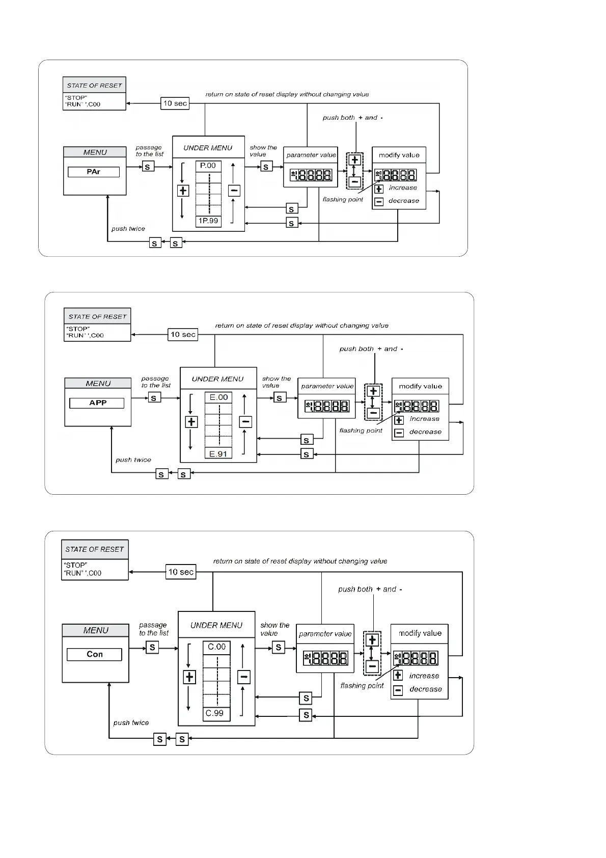
FIG. 10 (Submenu management parameters PAR)
FIG. 11 (Submenu management application parameters APP)
FIG. 12 (Submenu management connections CON)

Table of Contents

Related product manuals