EasyManua.ls Logo

TDK-Lambda GH10-150 - Page 156

TDK-Lambda GH10-150
190 pages
Print Icon
To Next Page IconTo Next Page
To Next Page IconTo Next Page
To Previous Page IconTo Previous Page
To Previous Page IconTo Previous Page
Loading...
145
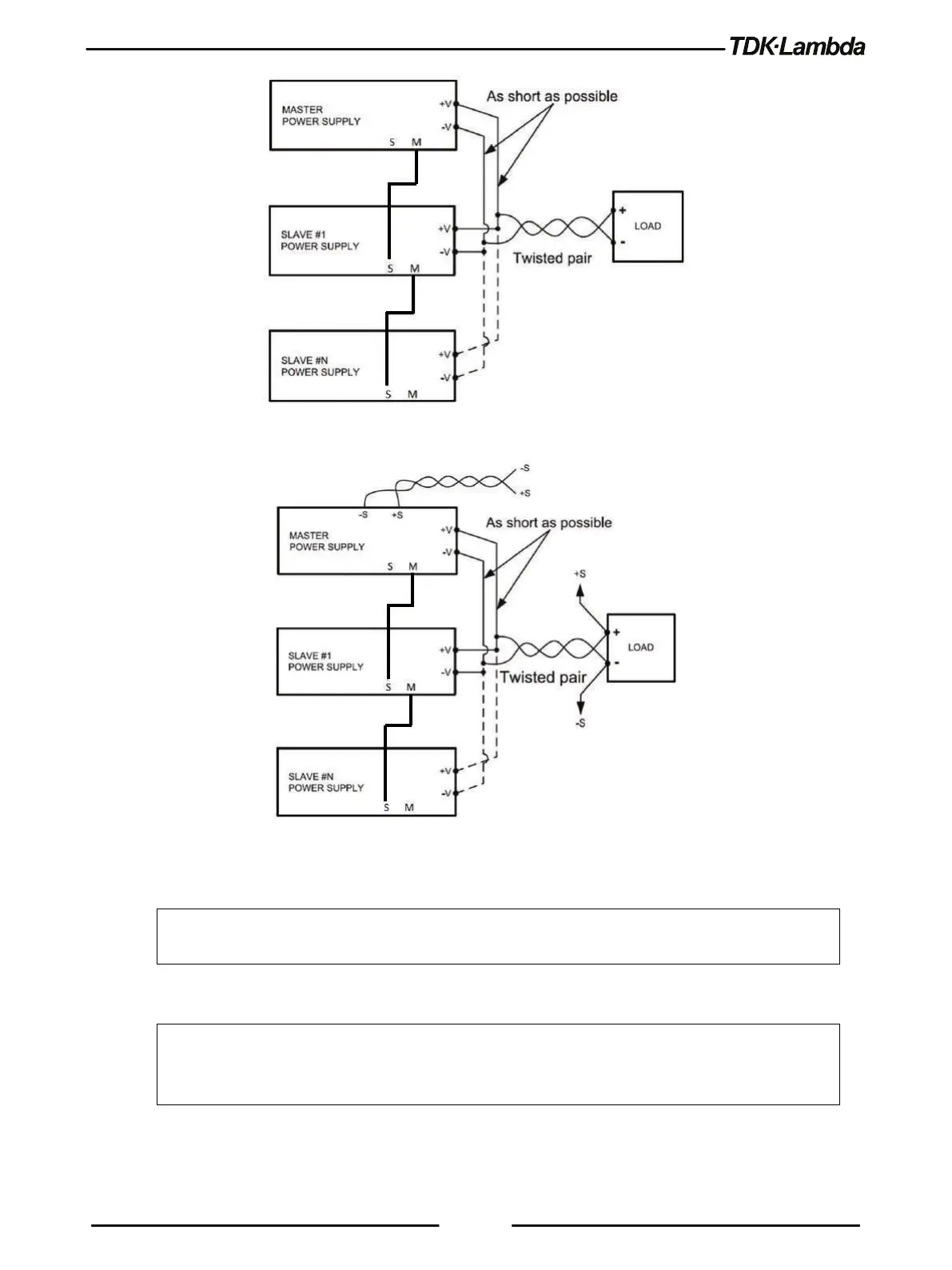
Figure 5–11: Parallel Connection with Local Sensing
Figure 5–12: Parallel Connection with Remote Sensing
CAUTION
Make sure the connection between V terminals is reliable to prevent disconnection during
operation. Disconnection may cause damage to the power supply.
NOTE
With local sensing, it is important to minimize wire length to decrease wire resistance. In addition,
the positive and negative wire lengths should be as close as possible to each other to achieve
better current balance between power supplies.

Table of Contents

Other manuals for TDK-Lambda GH10-150

Related product manuals