EasyManua.ls Logo

Toa MX-6224D - Remote Controller

Toa MX-6224D
60 pages
Print Icon
To Next Page IconTo Next Page
To Next Page IconTo Next Page
To Previous Page IconTo Previous Page
To Previous Page IconTo Previous Page
Loading...
10
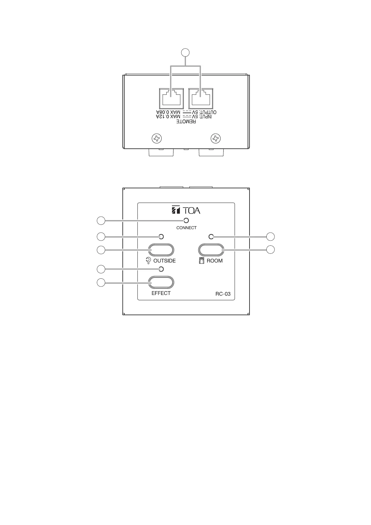
7.2. RC-03 Remote Controller
[Top]
1. Control line connection ports
Equipped with 2 RJ-45 ports.
Connect either of the 2 ports to the MX-6224D
amplier.
Maximum cable length is 200 m.
Use STP or UTP Category 5 straight cable for LAN
with RJ-45 connectors.
Note
Do not use crossover cable.
2. Connection indicator
Lights green when the Remote Controller is
connected to the MX-6224D and the power switch
of MX-6224D is ON.
3. Outside zone indicator
Lights red when sound is output to the outside
zone.
4. Outside zone switch
Turns on and off the outside zone output.
5. Effect indicator
Lights green when effector is enabled.
6. Effect switch
Turns on and off the effector.
7. Room zone indicator
Lights green when sound is output to the room
zone.
8. Room zone switch
Turns on and off the room zone output.
1
2
3
4
5
6
7
8
[Front]

Related product manuals