EasyManua.ls Logo

Travis Industries ProBuilder 42 - Minimum Framing Dimensions

Travis Industries ProBuilder 42
62 pages
Print Icon
To Next Page IconTo Next Page
To Next Page IconTo Next Page
To Previous Page IconTo Previous Page
To Previous Page IconTo Previous Page
Loading...
12 Installation (for qualified installers only)
© Travis Industries 3/13/18 - 1474 42 & 54PB GSB2 Aust.
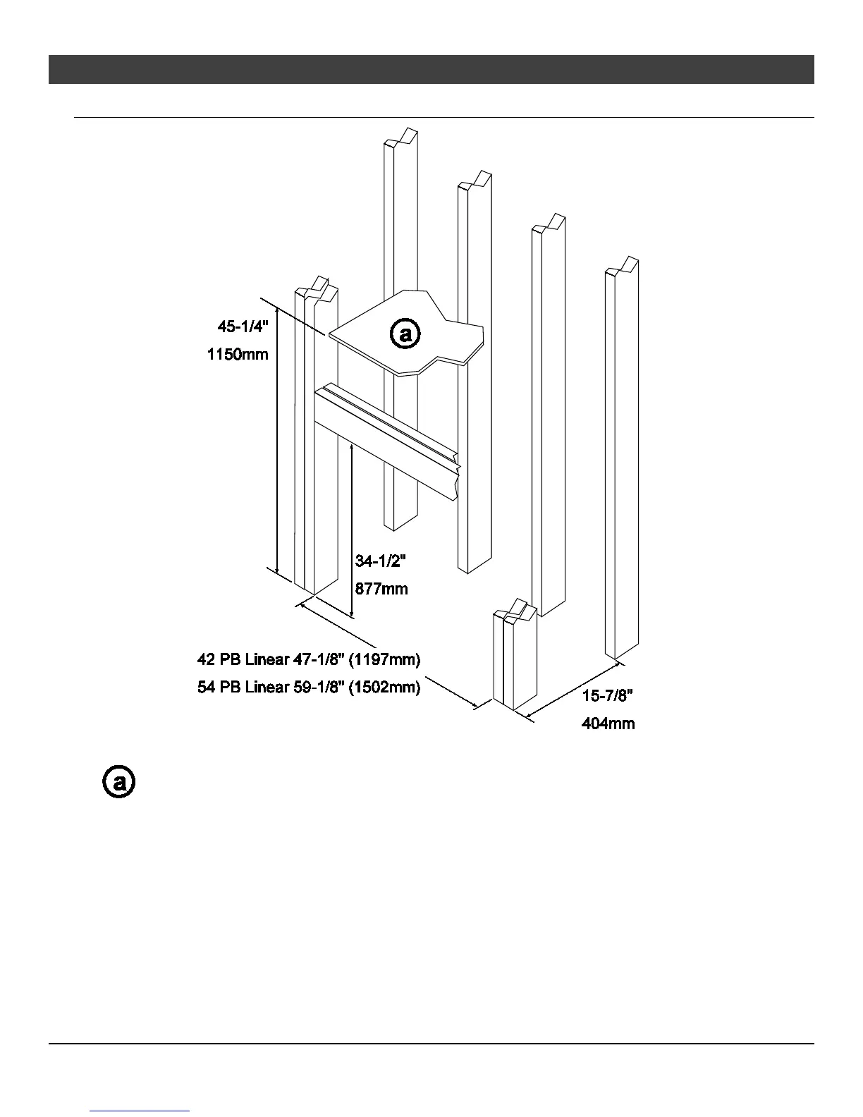
Minimum Framing Dimensions
The fireplace enclosure must be a minimum 45-1/4” (1150mm) tall. Do not build into the fireplace
enclosure.

Table of Contents