EasyManua.ls Logo

Travis Industries ProBuilder 42 - Glass Frame Removal and Installation

Travis Industries ProBuilder 42
62 pages
Print Icon
To Next Page IconTo Next Page
To Next Page IconTo Next Page
To Previous Page IconTo Previous Page
To Previous Page IconTo Previous Page
Loading...
Installation (for qualified installers only) 47
© Travis Industries 3/13/18 - 1474 42 & 54PB GSB2 Aust.
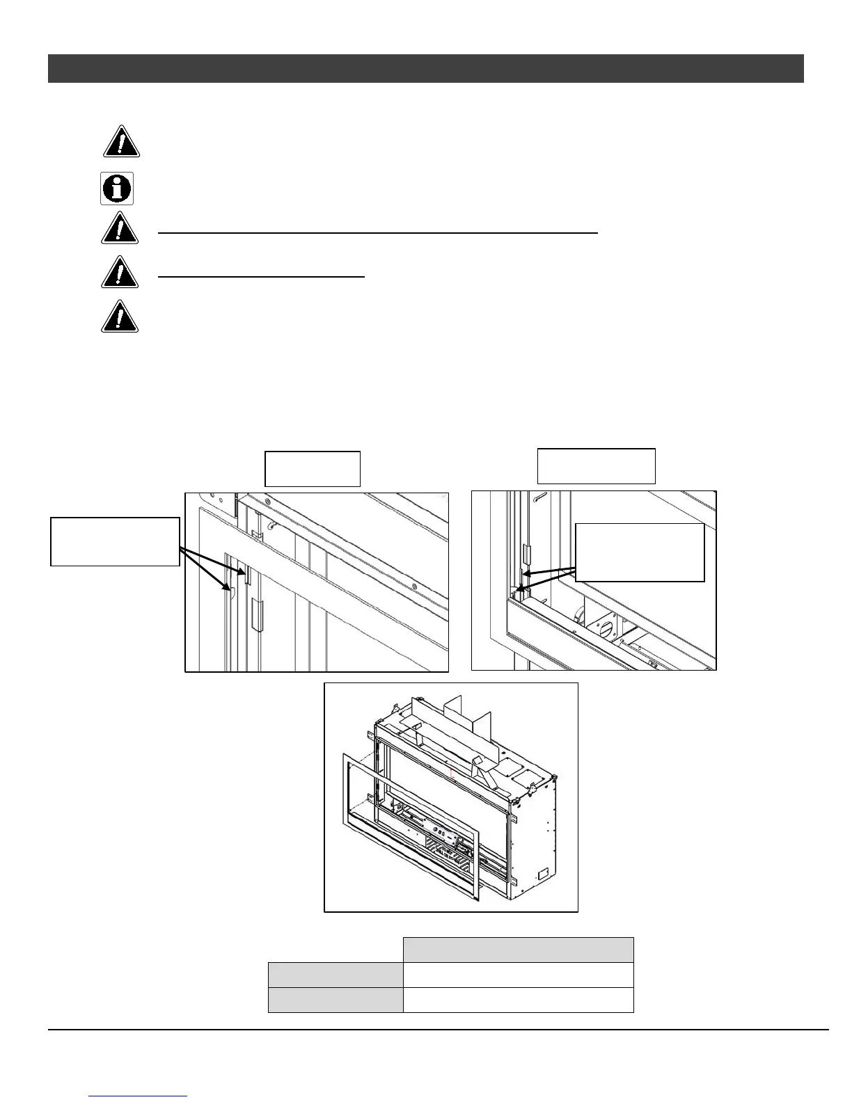
Glass Frame Removal and Installation
A barrier designed to reduce the risk of burns from the hot viewing glass is provided with this
appliance and shall be installed for the protection of children and other at-risk individuals.
If the barrier becomes damaged, the barrier shall be replaced with the manufacturer’s barrier for
this appliance.
The appliance must be completely cool before removing the glass.
Do not strike or slam the glass.
Warning: Do not operate appliance with the glass front removed, cracked or broken.
Replacement of the glass should be done by a licensed or qualified service person.
1. Remove the screen-trim assembly by lifting the assembly up slightly and tilting it toward you. The mounting hooks
on the back of the assembly will disengage the fireplace. Set the assembly aside for reinstallation.
NOTE: Opening the access door on the front of the assembly allows for a easy location to get a secure grip on the
assembly for removal
Replacement Barrier Part #
42 ProBuilder 250-04494
54 ProBuilder 270-01993
Top Corner
Bottom Corner
Bottom hook
engages this slot in
bracket
Top hook engages
this slot in bracket

Table of Contents