EasyManua.ls Logo

Valtra T144 - Page 109

Valtra T144
414 pages
Print Icon
To Next Page IconTo Next Page
To Next Page IconTo Next Page
To Previous Page IconTo Previous Page
To Previous Page IconTo Previous Page
Loading...
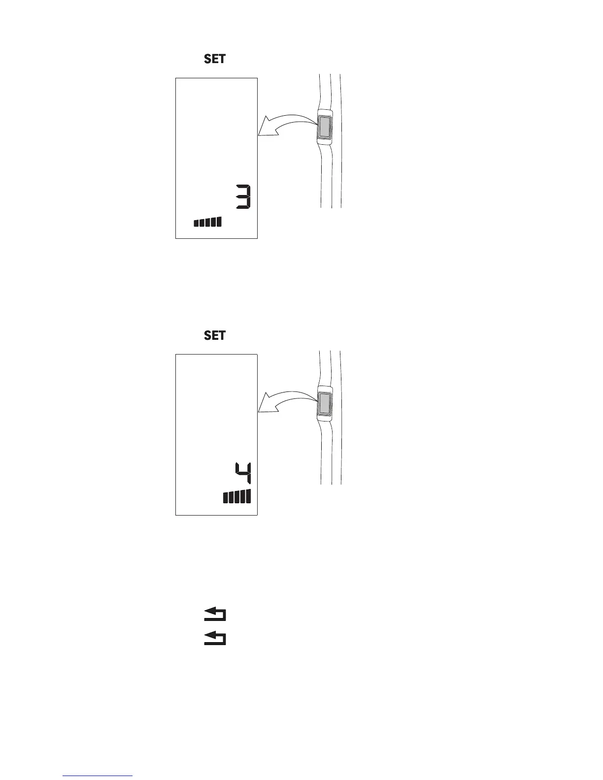
3. Press to enter the index list.
GUID-0AD867A6-2868-411A-B022-1581A78273B4
The first half of the bottom bar is lit to indicate that the index number is
displayed.
4. Press the up arrow or the down arrow to select the parameter to be changed.
The parameter number for clutch pedal engagement position is 3.
5. Press .
GUID-FB646E44-586B-48D0-AADB-D48C6E76864A
The second half of the bottom bar is lit to indicate that the parameter value is
displayed.
6. Press the up arrow or the down arrow to change the parameter value.
The value range is between 1–4.
7. Press to save the value.
8. Press to leave the setting menu and save all changes.
3. Operation
- 107 -

Table of Contents

Related product manuals