EasyManua.ls Logo

Vigilant MX1-Au - External Wiring; Cable Entry

Default Icon
182 pages
Print Icon
To Next Page IconTo Next Page
To Next Page IconTo Next Page
To Previous Page IconTo Previous Page
To Previous Page IconTo Previous Page
Loading...
Vigilant MX1-Au Operator Manual Document: LT0439
Page 23 October 2018 Issue 1.73
11-4
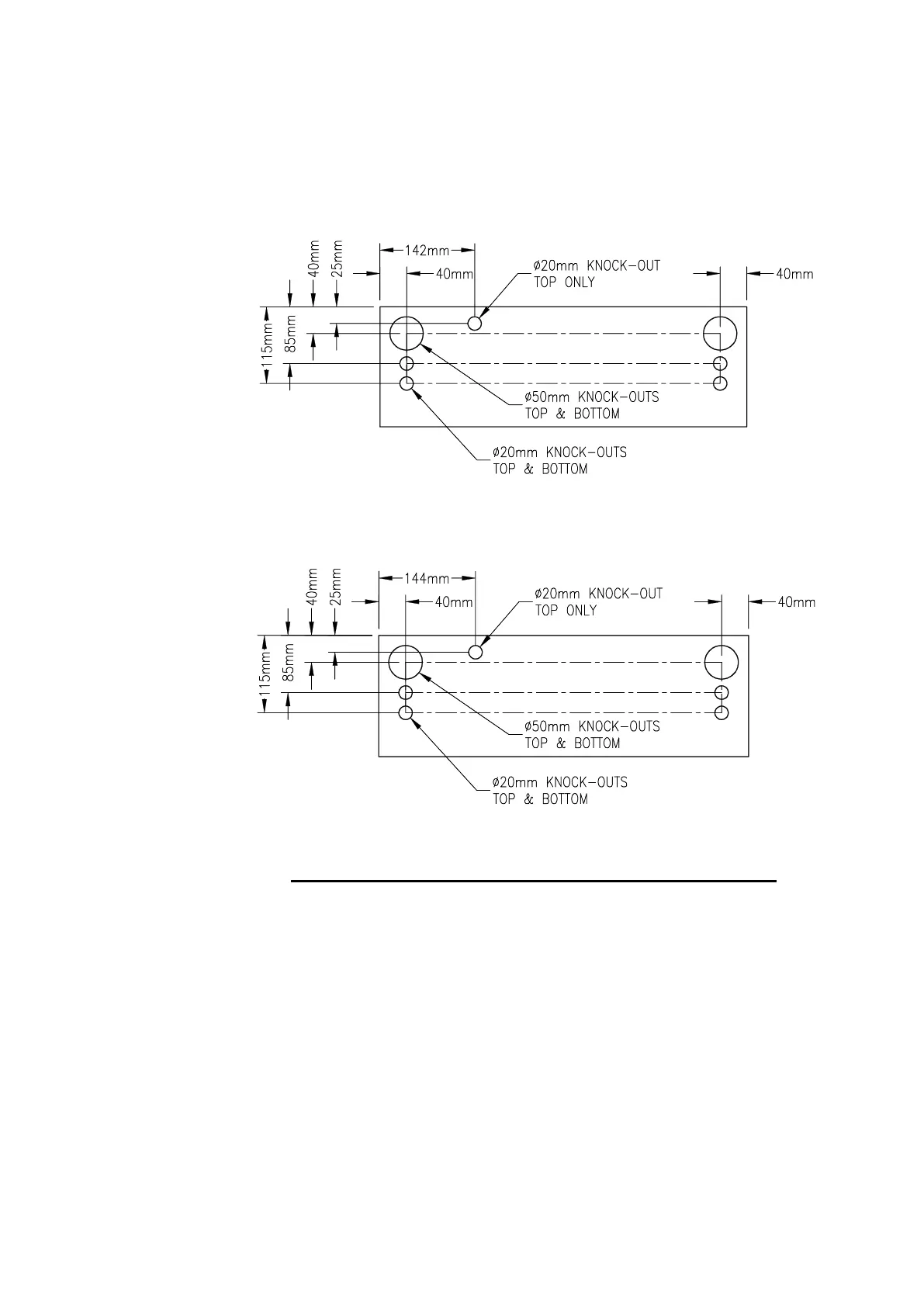
(a) 8U Cabinet
(b) 15U Cabinet
Figure 11-3 Knockout positions at top and bottom of the cabinet
The cabinet has two 50mm knockouts in the top and bottom and five
20mm knockouts in the top and four in the bottom. Plus there are two
knockouts in the rear wall. Other entry holes can be drilled as required.
To prevent water entering the cabinet, seal unused knockouts and any
top cable entries. Where possible, use bottom cable entry with cables
going down 100 mm below the cabinet before rising.
The gearplate has precut slots behind the mains outlet and beside the
controller board to facilitate cable entry from the rear of the cabinet. The
cabinet has matching knockouts in these positions.
External Wiring
Cable Entry

Table of Contents

Other manuals for Vigilant MX1-Au