EasyManua.ls Logo

XYZ Machine Tools SMX 5000 - SMX2500 - Spindle Motor Replacement; SMX2500 - Drive Belt Replacement

Default Icon
171 pages
Print Icon
To Next Page IconTo Next Page
To Next Page IconTo Next Page
To Previous Page IconTo Previous Page
To Previous Page IconTo Previous Page
Loading...
109
XYZ Machine Tools Ltd
XYZ Bed Mill Safety, Installation, Maintenance, Service & Parts List Manual
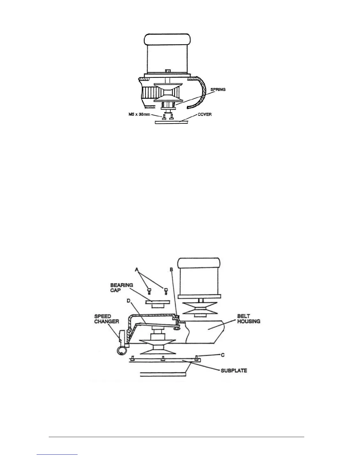
Figure 33 - SMX 2500 - Spindle Motor Removal & Replacement
5.1.14 Drive Belt Replacement SMX 2500
1. Remove the motor.
2. Remove the draw bar and its bushing.
3. Remove the three Screws A and use M6 x 35mm screws in the adjacent tapped holes to remove
the Bearing Cap.
4. Remove the nut from the fine speed adjustment Screw B and turn the screw all the way down
through the casting. Catch it from the motor hole.
5. Remove six Screws C holding the belt housing to the subplate.
6. Remove the four screws holding the speed changer.
7. Remove the belt housing.
8. Replace the belt by sliding it over the speed changer.
9. In reassembly be certain the fine speed adjustment Screw B goes into the slot of the Speed
Change Plate D in the area in which the screw is not threaded.
Figure 34 - SMX 2500 - Belt Drive Replacement
5.1.15 Drive Belt Replacement SMX 3500, 4000 & 5000
1. Remove the draw bar and its bushing (remove power drawbar if present).

Table of Contents

Related product manuals