EasyManua.ls Logo

Yamaha e60hmhd - Page 45

Yamaha e60hmhd
488 pages
Print Icon
To Next Page IconTo Next Page
To Next Page IconTo Next Page
To Previous Page IconTo Previous Page
To Previous Page IconTo Previous Page
Loading...
F
CARACTERISTIQUES ET AVANTAGES
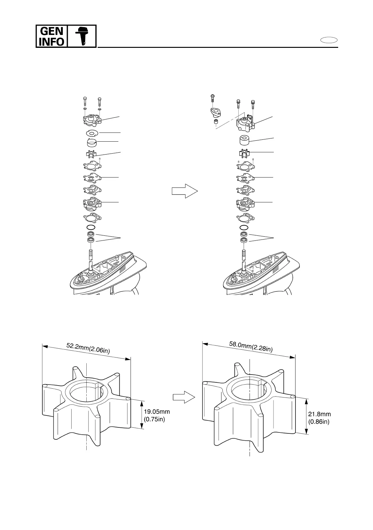
2. POMPE A EAU A GRAND DEBIT
La pompe à eau a les mêmes caractéristiques que celle de l'actuel 85A.
Il a par conséquent été possible d'augmenter les dimensions de la turbine et du carter de la pompe à eau, faisant ainsi passer le débit total
à 1,5 fois par rapport à l'actuel E60 et assurant une capacité de refroidissement stable à bas régime comme aux vitesses supérieures.
Carter supérieur
Cartouche
Turbine
Plaque externe de
cartouche
Carter inférieur
Bague d'étanchéité
Carter supérieur
Plaque intérieure
Turbine
Plaque externe de
cartouche
Carter inférieur
Bague d'étanchéité
Cartouche
1-11

Table of Contents

Related product manuals