EasyManua.ls Logo

Yamaha e60hmhd - Page 46

Yamaha e60hmhd
488 pages
Print Icon
To Next Page IconTo Next Page
To Next Page IconTo Next Page
To Previous Page IconTo Previous Page
To Previous Page IconTo Previous Page
Loading...
D
MERKMALE UND VORTEILE
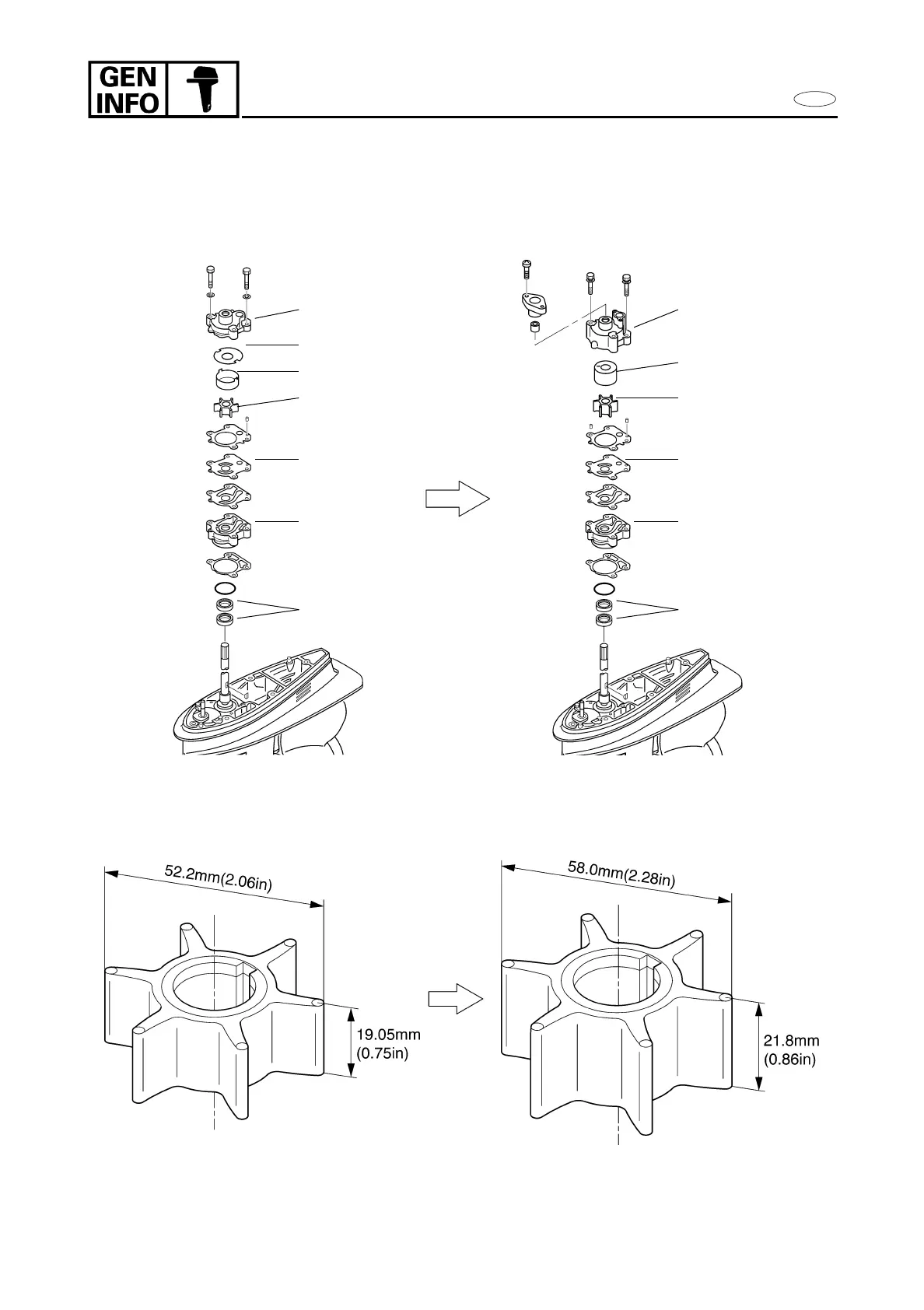
2. GROSSVOLUMIGE WASSERPUMPE
Die Wasserpumpe hat dieselben technischen Daten wie die beim aktuellen Modell 85A.
Als Folge konnten das Flügelrad und das Wasserpumpengehäuse vergrößert werden, wodurch sich die
Gesamtleistung im Vergleich zum gegenwärtigen Modell E60 um das 1,5-fache erhöhte und eine stabile Kühlung im
gesamten Drehzahlbereich erreicht wurde.
Obergehäuse
Einsetzkartusche
Flügelrad
Äußerer
Kartuschenplatte
Untergehäuse
Radialdichtring
Obergehäuse
Innere Platte
Flügelrad
Äußerer
Kartuschenplatte
Untergehäuse
Radialdichtring
Einsetzkartusche
1-11

Table of Contents

Related product manuals