EasyManua.ls Logo

Yamaha EF7200E - Batería Recomendada (para EF5500 EFW); Sustitución de Fusibles (para EF5500 EFW)

Yamaha EF7200E
484 pages
Print Icon
To Next Page IconTo Next Page
To Next Page IconTo Next Page
To Previous Page IconTo Previous Page
To Previous Page IconTo Previous Page
Loading...
– 25 –
240V
120V
120V
GR
W
X
G
Y
4
763-252
A
4
4
C
4
D
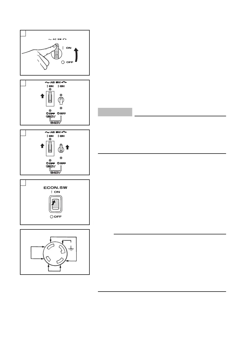
4. Gire el interruptor de CA (interruptor desprovisto
de fusible) y el interruptor de control de economía
hacia “I” (ACTIVADO) y encienda los dispositivos
eléctricos.
4 “I” (ACTIVADO)
å EF7200/EF7200E
Se pueden usar 120 V de CA. (EF7200DE)
ç Se pueden usar 120 V y 240 V de CA. (EF7200DE)
Interruptor de control de economía (excepto para EF7200)
ATENCIÓN
Reduzca la carga hasta la potencia nominal del
generador especificada si el interruptor de CA
(interruptor desprovisto de fusible) se apaga. Si se
vuelve a apagar, consulte con un distribuidor
Yamaha.
NOTA
9 La toma para enchufes de 4 conectores suminis-
tra corriente a fuentes de alimentación de 120 V y
240 V.
9 Debe girar el interruptor de control de economía
hacia 3 (DESACTIVADO) para aumentar el
régimen del motor a las r/min nominales cuando:
- use una carga de 0,8 A o inferior.
- suministre 120 V de CA solamente desde W con X.
4
B
7P6-F8199-U0-S0.indd 25 2014/02/19 15:15:20

Table of Contents

Other manuals for Yamaha EF7200E

Related product manuals