EasyManua.ls Logo

Yamaha F100D - Assembling the Propeller Shaft Housing

Yamaha F100D
249 pages
Print Icon
To Next Page IconTo Next Page
To Next Page IconTo Next Page
To Previous Page IconTo Previous Page
To Previous Page IconTo Previous Page
Loading...
LOWR
Lower unit
6-13
6D93G11
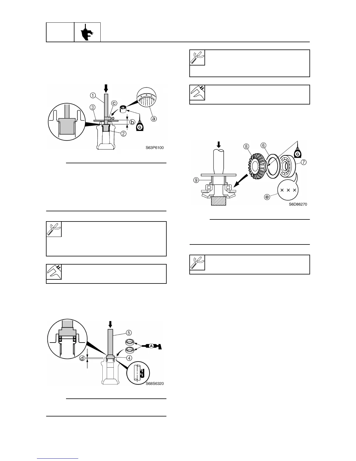
Assembling the propeller shaft
housing
1. Install the needle bearing into the propel-
ler shaft housing to the specified depth.
NOTE:
Install the needle bearing with the manufac-
ture identification mark
a
facing toward the
oil seal (propeller side).
When using the driver rod, do not strike the
special tool in a manner that will force the
stopper
c
out of place.
2. Apply grease to the new oil seals, and
then install them into the propeller shaft
housing to the specified depth.
NOTE:
Install an oil seal halfway into the propeller
shaft housing, then the other oil seal.
3. Install the thrust washer
6
and new ball
bearing
7
to the reverse gear
8
using a
press.
NOTE:
Install the ball bearing with the manufacture
identification mark
e
facing outward (propel-
ler side).
4. Install the reverse gear assembly into the
propeller shaft housing using a press.
Driver rod SS
1
: 90890-06604
Needle bearing attachment
2
:
90890-06612
Bearing depth plate
3
: 90890-06603
Depth
b
:
25.25
±
0.25 mm (0.99
±
0.01 in)
Ball bearing attachment
4
:
90890-06655
Driver rod LS
5
: 90890-06606
Depth
d
:
5.0
±
0.5 mm (0.20
±
0.02 in)
Bearing inner race attachment
9
:
90890-06639

Table of Contents

Other manuals for Yamaha F100D

Related product manuals