EasyManua.ls Logo

Yamaha F100D - Removing the Upper Case; Disassembling the Oil Pump; Checking the Oil Pump; Assembling the Oil Pump

Yamaha F100D
249 pages
Print Icon
To Next Page IconTo Next Page
To Next Page IconTo Next Page
To Previous Page IconTo Previous Page
To Previous Page IconTo Previous Page
Loading...
6D93G11
7-12
1
2
3
4
5
6
7
8
9
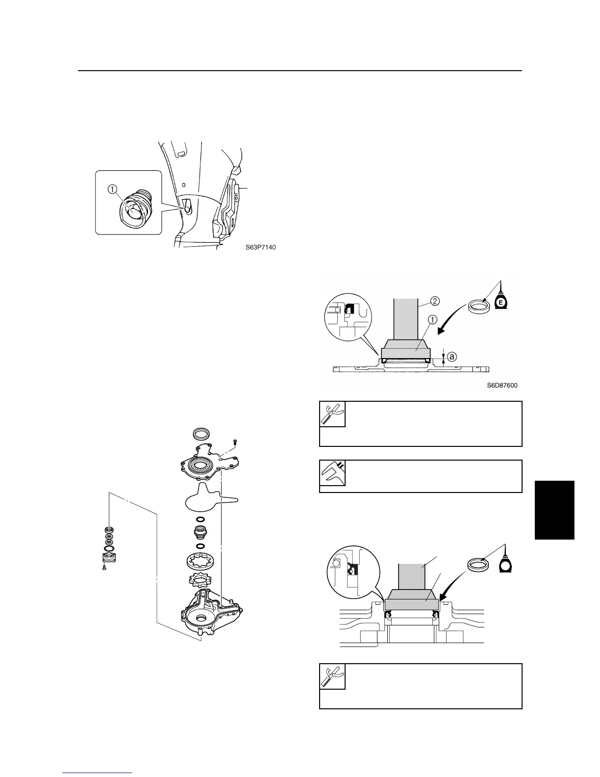
Removing the upper case
1. Place a drain pan under the drain hole,
and then remove the drain bolt
1
and let
the oil drain completely.
2. Remove the oil pump assembly and
mount covers.
3. Disconnect the ground lead and speed-
ometer hose.
4. Remove the upper and lower mounting
nuts, and then remove the upper case.
Disassembling the oil pump
1. Remove the screws and disassemble the
oil pump.
Checking the oil pump
1. Check the gear teeth for cracks or wear
and the oil pump case for scratches.
Replace the oil pump assembly if neces-
sary.
2. Check the shaft for cracks or wear.
Replace if necessary.
3. Check the oil passage for dirt or residue.
Clean if necessary.
Assembling the oil pump
1. Install a new oil seal into the oil pump
cover to the specified depth.
2. Install a new oil seal into the oil pump
housing.
S6D87070
Bearing outer race attachment
1
:
90890-06625
Driver rod LS
2
: 90890-06606
Depth
a
:
0.5
±
0.3 mm (0.02
±
0.01 in)
Bearing outer race attachment
3
:
90890-06628
Driver rod LS
2
: 90890-06606
S6D87610
E
2
3
Upper case

Table of Contents

Other manuals for Yamaha F100D

Related product manuals