EasyManua.ls Logo

Yamaha F100D - Vapor Separator

Yamaha F100D
249 pages
Print Icon
To Next Page IconTo Next Page
To Next Page IconTo Next Page
To Previous Page IconTo Previous Page
To Previous Page IconTo Previous Page
Loading...
6D93G11
4-12
1
2
3
4
5
6
7
8
9
4
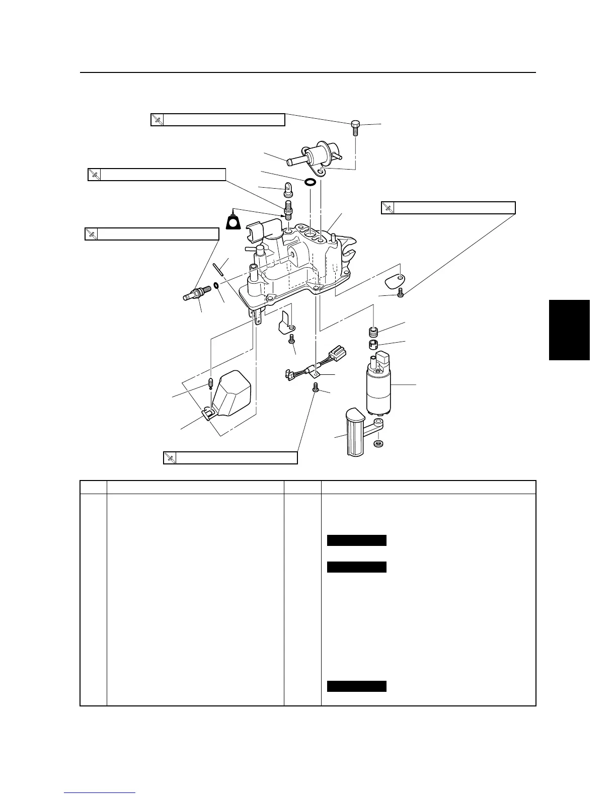
No. Part name Qty Remarks
1 Cover 1
2 Pressure regulator 1
3Bolt 2 M6
×
12 mm
4O-ring 1
Not reusable
5 Joint screw 1
6O-ring 1
Not reusable
7 Electric fuel pump 1
8Grommet 1
9 Collar 1
10 Filter 1
11 Screw 3 ø4
×
6 mm
12 Wiring harness 1
13 Float 1
14 Needle valve 1
15 Pin 1
Not reusable
16 Cap 1
S6D84090
3
1
7
9
8
2
4
6
15
11
11
11
10
13
14
12
5
16
T
R
.
.
2 N
·
m (0.2 kgf
·
m, 1.5 ft
·
Ib)
T
R
.
.
2 N
·
m (0.2 kgf
·
m, 1.5 ft
·
Ib)
T
R
.
.
4 N
·
m (0.4 kgf
·
m, 3.0 ft
·
Ib)
T
R
.
.
10 N
·
m (1.0 kgf
·
m, 7.4 ft
·
Ib)
T
R
.
.
5 N
·
m (0.5 kgf
·
m, 3.7 ft
·
Ib)
LT
271
Vapor separator

Table of Contents

Other manuals for Yamaha F100D

Related product manuals