EasyManua.ls Logo

YASKAWA iQpump Micro CIMR-PW Series

YASKAWA iQpump Micro CIMR-PW Series
444 pages
To Next Page IconTo Next Page
To Next Page IconTo Next Page
To Previous Page IconTo Previous Page
To Previous Page IconTo Previous Page
Loading...
n
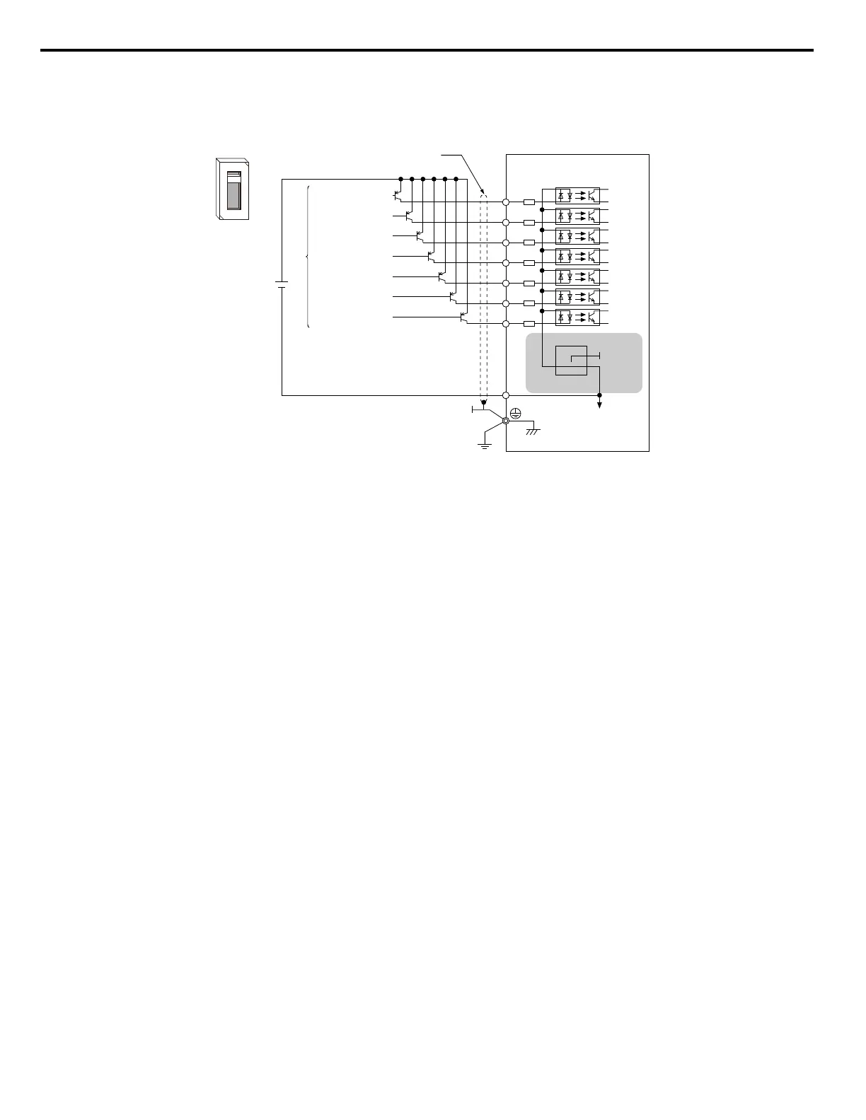
Transistor Input Signal Using +24 V Common/Source Mode
When controlling digital inputs by PNP transistors (+24 V common/sourcing mode), set the DIP switch S3 to SOURCE and
use an external 24 V power supply.
Forward run / stop
Not used
External fault N.O.
Fault rest
Multi-setpoint 1
HAND
HAND 2
External
power supply
Shielded cable
Drive
Multi-function input
S1
S2
S3
+24V
S4
S5
S6
S7
SC
S3
SINK
SOURCE
+24 V
SINK
SOURCE
Figure 3.26 Source Mode: Sequence from PNP Transistor (+24 V Common)
3.8 I/O Connections
60
YASKAWA TOEP YAIQPM 03B YASKAWA AC Drive - iQpump Micro User Manual

Table of Contents

Related product manuals