EasyManua.ls Logo

YASKAWA SGMAS - Page 117

YASKAWA SGMAS
177 pages
Print Icon
To Next Page IconTo Next Page
To Next Page IconTo Next Page
To Previous Page IconTo Previous Page
To Previous Page IconTo Previous Page
Loading...
5 Wiring
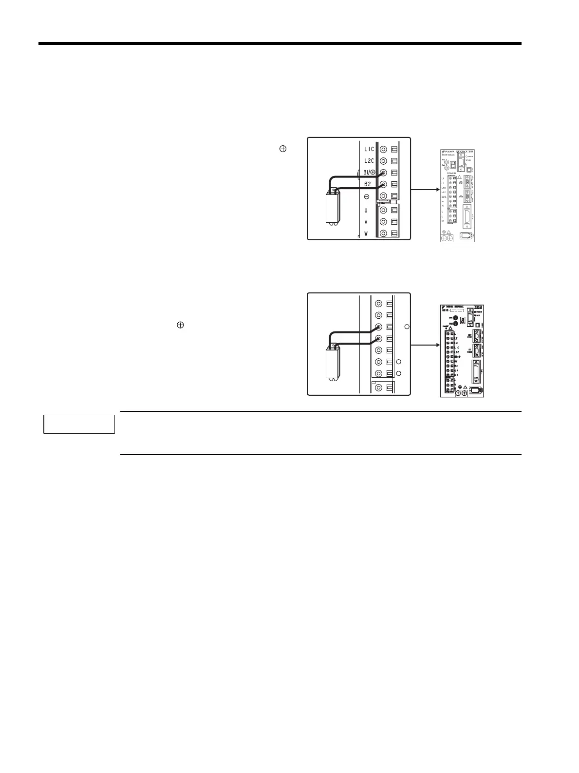
5.5.2 Connecting External Regenerative Resistors
5-22
(5) Connecting Regenerative Resistors
(a) SERVOPACKs with Capacities of 400 W or Less
(b) SERVOPACKs with Capacities of 750 W to 3.0 kW
Do not touch the regenerative resistors because they reach high temperature. Use heat-resistant, non-flam-
mable wiring and make sure that wiring does not touch the resistors.
Refer to 4.1 SERVOPACK Main Cir-
cuit Wire Size for wire size for connecting an external regenerative resistor.
Connect an external regenerative resistor between B1/
and B2 terminals.
Note: The user must provide the regenerative resistor.
Disconnect the wiring between the SERVOPACK’s B2
and B3 terminals and connect an external regenerative
resistor between the B1/ and B2 terminals.
The user must provide the regenerative resistor.
Note: Be sure to take out the lead wire between the B2 and
B3 terminals.
Enlarged View
Enlarged View
L1C
L2C
B1/
B2
B3
U
+
1
2
IMPORTANT
SIEPS80000025.book 22 ページ 2004年10月25日 月曜日 午前11時57分

Table of Contents

Related product manuals