EasyManua.ls Logo

York MILLENNIUM YCAR0315 - Clearances; FIG. 32 - Clearances

York MILLENNIUM YCAR0315
160 pages
Print Icon
To Next Page IconTo Next Page
To Next Page IconTo Next Page
To Previous Page IconTo Previous Page
To Previous Page IconTo Previous Page
Loading...
90
YORK INTERNATIONAL
FORM 150.52-NM2 (1001)
Technical Data
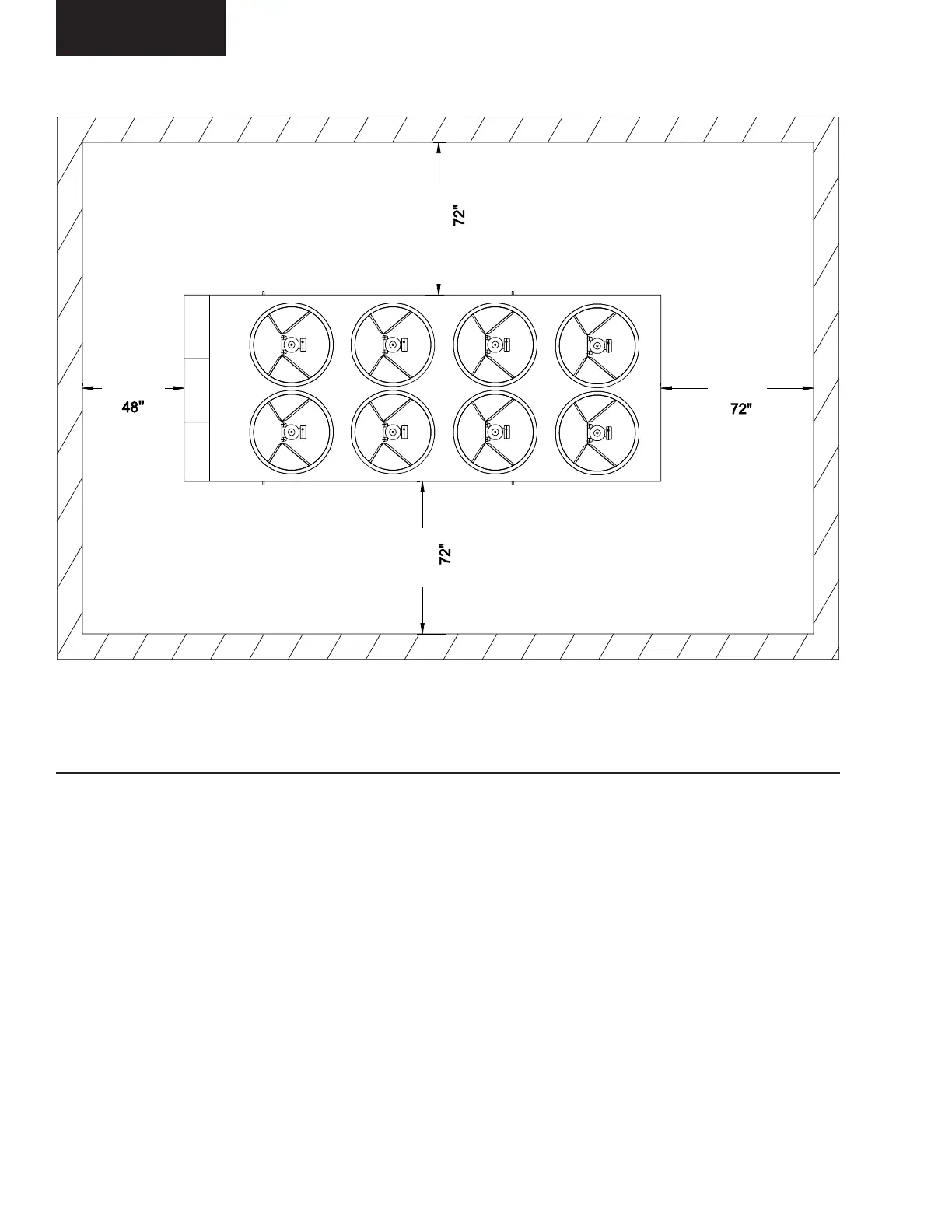
CLEARANCES
Notes: No obstructions allowed above the unit.
Only one adjacent wall may be higher than the unit.
Adjacent units should be 3 meters (10 feet) apart.
LD07258
FIG. 32 – CLEARANCES
(1.3 m)
(2 m)
(2 m)
(2 m)
INSTALLATION INSTRUCTIONS FOR VMC SERIES
AWR/AWMR AND CP RESTRAINED MOUNTINGS
1. Floor should be level and smooth.
2. For indoor applications, isolators do not normally
require bolting. If necessary, anchor isolators to
floor through bolt holes in base plate. IMPOR-
TANT: Isolators must be bolted to substructure
and equipment to isolators when used under out-
door equipment exposed to wind forces.
3. Lubricate threads of adjusting bolt. Loosen hold
down bolts to allow for isolator adjustment.
4. Block the equipment 10 mm (1/4") higher than the
specified free height of the isolator. To use the iso-
lator as blocking for the equipment, insert a 20 mm
(1/4") shim between the upper load plate and verti-
cal uprights. Lower the equipment on the blocking
or shimmed isolators.
5. Complete piping and fill equipment with water, re-
frigerant, etc.
6. Turn leveling bolt of first isolator four full revolu-
tions and proceed to each mount in turn.
7. Continue turning leveling bolts until equipment is fully
supported by all mountings and equipment is raised
free of the spacer blocks or shims. Remove blocks
or shims.
8. Turn leveling bolt of all mountings in either direction
in order to level the installation.
9. Tighten nuts on hold down bolts to permit a clear-
ance of 2 mm (1/8" between resilient washer and
underside of channel cap plate.
10. Installation is now complete.

Table of Contents

Related product manuals