EasyManua.ls Logo

ABB COMMANDER 351 - Page 57

ABB COMMANDER 351
104 pages
Print Icon
To Next Page IconTo Next Page
To Next Page IconTo Next Page
To Previous Page IconTo Previous Page
To Previous Page IconTo Previous Page
Loading...
55
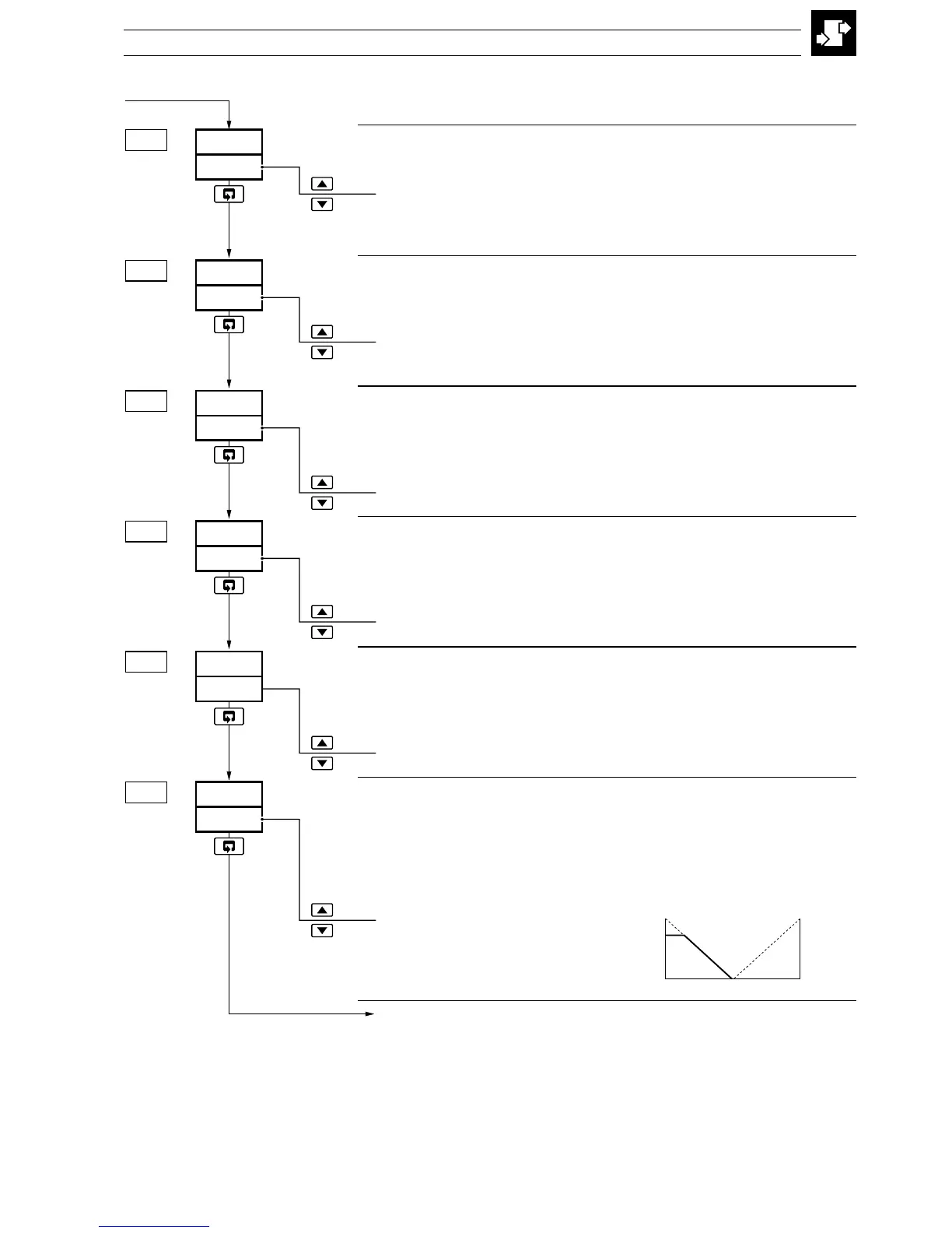
4 CONFIGURATION MODE
A.03...A.08
Process Variable Fail Action
Determines controller output when the process variable input fails.
NONE No action
HOLd Put into Manual mode
dFLt Put into Manual mode and select default output
Default Output
This output is used in conjunction with Power Recovery mode 8 and
Process Variable Fail action.
[0 to 100%] (–100% to +100% for heat/cool)
Output High Limit Single Output Control
Limits the high level of the control output in automatic mode. If the control
output is above this limit when automatic mode is selected, the current
output value becomes the high limit until the value falls below the limit set.
[0.0 to 100.0%]
Output Low Limit Single Output Control
Limits the low level of the control output in automatic mode. If the control
output is below this limit when automatic mode is selected, the current
output value becomes the low limit until the value rises above the limit set.
[0.0 to 100.0%]
Output 1 (Heat) High Limit Heat/Cool Control
Limits the high level of control output 1 in automatic mode. If the control
output is above this limit when automatic mode is selected, the current
output value becomes the high limit until the value falls below the limit set.
[0.0 to 100.0%]
Output 2 (Cool) High Limit Heat/Cool Control
Limits the high level of control output 2 in automatic mode, when 'reverse-
direct' or 'direct-reverse' control action selected in the Basic
Configuration level. If the control output is above this limit when
automatic mode is selected, the current output value becomes the high
limit until the value falls below the limit set.
[0.0 to –100.0%]
Continued…
4.6 Level A Control Configuration
•1 Displayed only if a single output type is selected.
•2 Displayed only if a heat/cool output type is selected.
100
OP.HI
A.05
0
dF.OP
A.04
NONE
PVFA
A.03
•1
0
OP.L0
A.06
•1
100.0
OP1H
A.07
•2
100
OP2H
A.08
•2
OP1OP2
OP2H
–100% +100%
00

Table of Contents

Related product manuals