EasyManua.ls Logo

ABB PQFM - Page 74

ABB PQFM
229 pages
Print Icon
To Next Page IconTo Next Page
To Next Page IconTo Next Page
To Previous Page IconTo Previous Page
To Previous Page IconTo Previous Page
Loading...
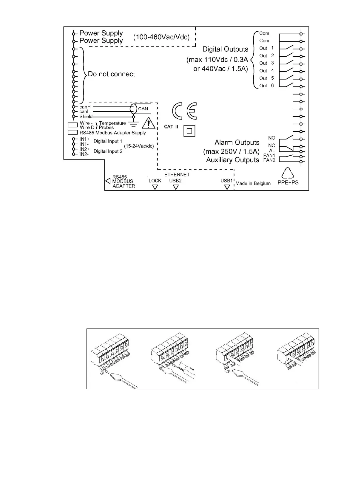
74 Electrical design and installation Manual Power Quality Filter PQFM
Figure 57: Rear side layout of the PQF-Manager user interface
When looking at the PQF-Manager from the rear, on the left side can be found a 15-pole
terminal block and on the right side an 8 pole terminal block (top-right) and a 45-pole
terminal block (bottom right). Intermediate contacts are not used. In order to make
control connections to any of these terminals, the following procedure has to be applied:
1. Push the lever of the connector backwards with a screwdriver.
2. Insert the control wires (from 0.75 mm² to 2.5 mm² single core without cable shoe or
max. 1.5 mm² for multi-strand wire) in the corresponding connection hole while keeping
the pressure on the lever.
3. Release the screwdriver.
4. The wire is then properly connected.
1. 2. 3. 4.
Figure 58: PQF-Manager lead connections
The remainder of this section gives examples of how to cable different functions, i.e.
Case 1: Cabling of remote control functionality.
Case 2: Cabling of alarm functionality.
Case 3: Cabling of warning functionality.

Table of Contents