EasyManua.ls Logo

ABB REG650 - Page 151

ABB REG650
728 pages
Print Icon
To Next Page IconTo Next Page
To Next Page IconTo Next Page
To Previous Page IconTo Previous Page
To Previous Page IconTo Previous Page
Loading...
IEC05000113-2-en.vsd
AND
ZINL1
AND
DET-L1
OR
AND
AND
ZOUTL1
-loop
ZOUTL2
ZOUTL3
OR
detected
OR
-loop
0-tP1
0
0-tP2
0
0
0-tW
IEC05000113 V2 EN
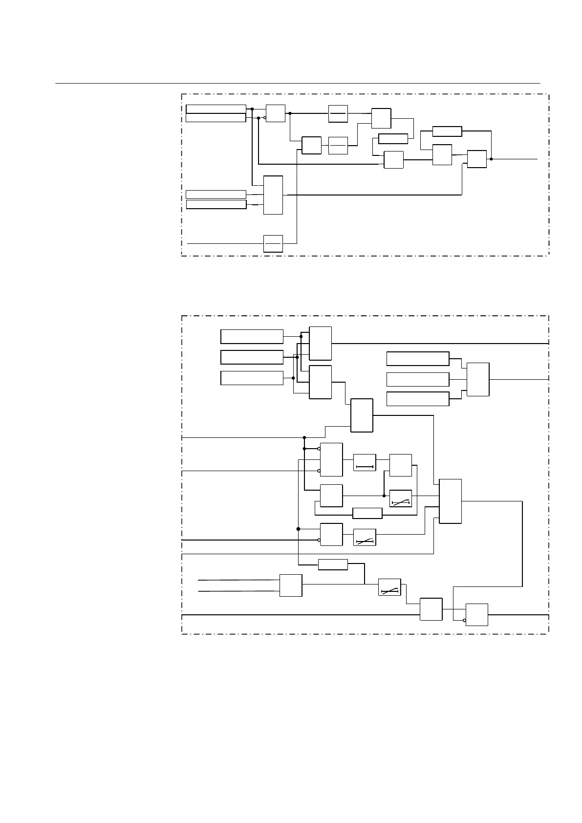
Figure 63: Detection of power swing in phase L1
IEC09000223_2_en.vsd
I0CHECK
AND
BLKI02
t
10 ms
AND
BLKI01
BLOCK
INHIBIT
ZOUTL3
ZOUTL2
ZOUTL1
EXTERNAL
AND
START
ZOUT
ZINL1
ZINL2
ZINL3
ZIN
AND
t
tR1
t
tR2
OR
AND
AND
OR
OR
OR
OR
t
tH
-loop
-loop
DET 1of3 - int
DET 2of3 - int
OR
IEC09000223 V2 EN
Figure 64: Simplified block diagram for ZMRPSB function
1MRK 502 048-UEN A Section 7
Impedance protection
145
Technical manual

Table of Contents

Other manuals for ABB REG650

Related product manuals