EasyManua.ls Logo

Acer Aspire E1-421 - LCD Picture Failure

Acer Aspire E1-421
253 pages
Print Icon
To Next Page IconTo Next Page
To Next Page IconTo Next Page
To Previous Page IconTo Previous Page
To Previous Page IconTo Previous Page
Loading...
Troubleshooting 4-7
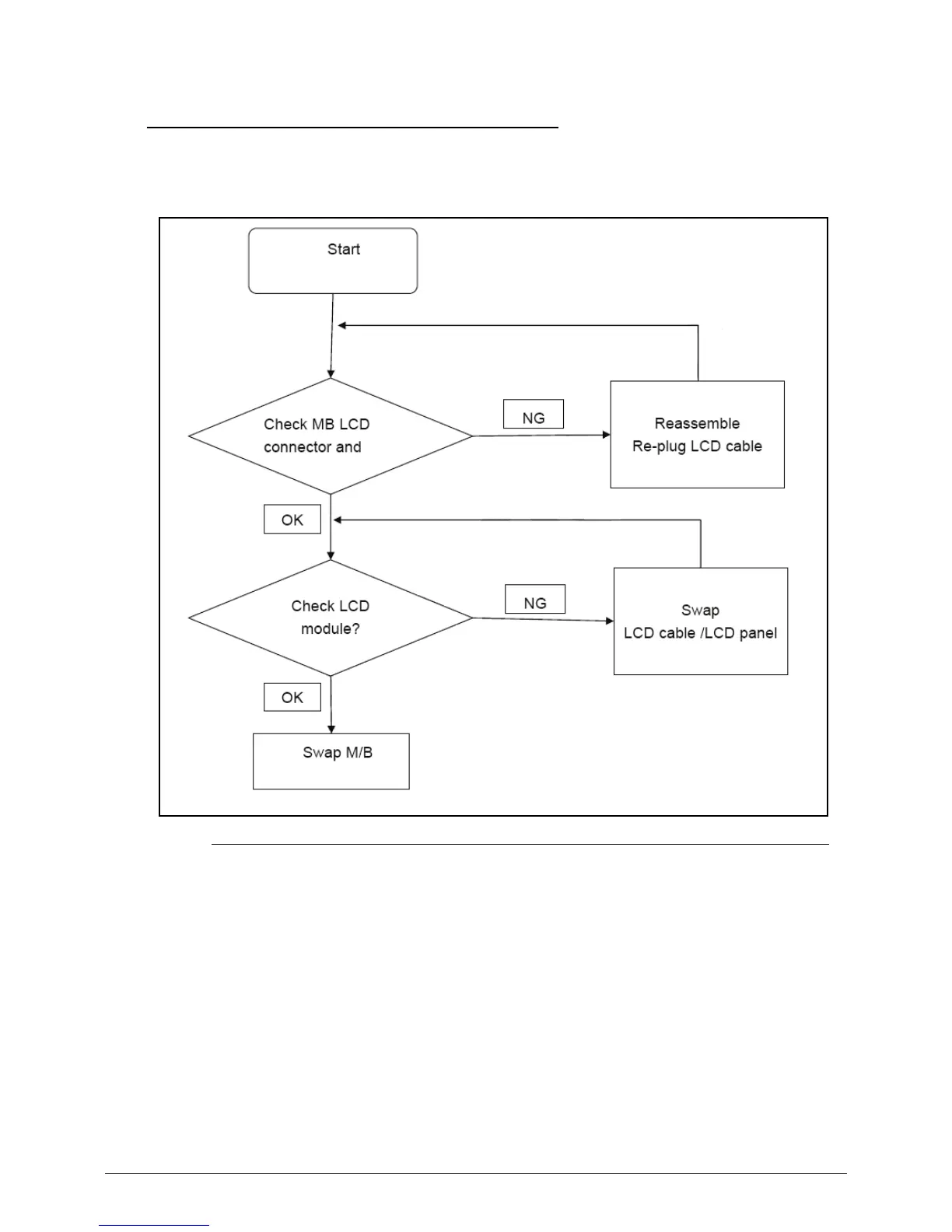
LCD Picture Failure 0
If the LCD fails, perform the following:
Figure 4-3. LCD Failure

Table of Contents

Related product manuals