EasyManua.ls Logo

Bernette b38 - Zigzag

Bernette b38
72 pages
Print Icon
To Next Page IconTo Next Page
To Next Page IconTo Next Page
To Previous Page IconTo Previous Page
To Previous Page IconTo Previous Page
Loading...
32
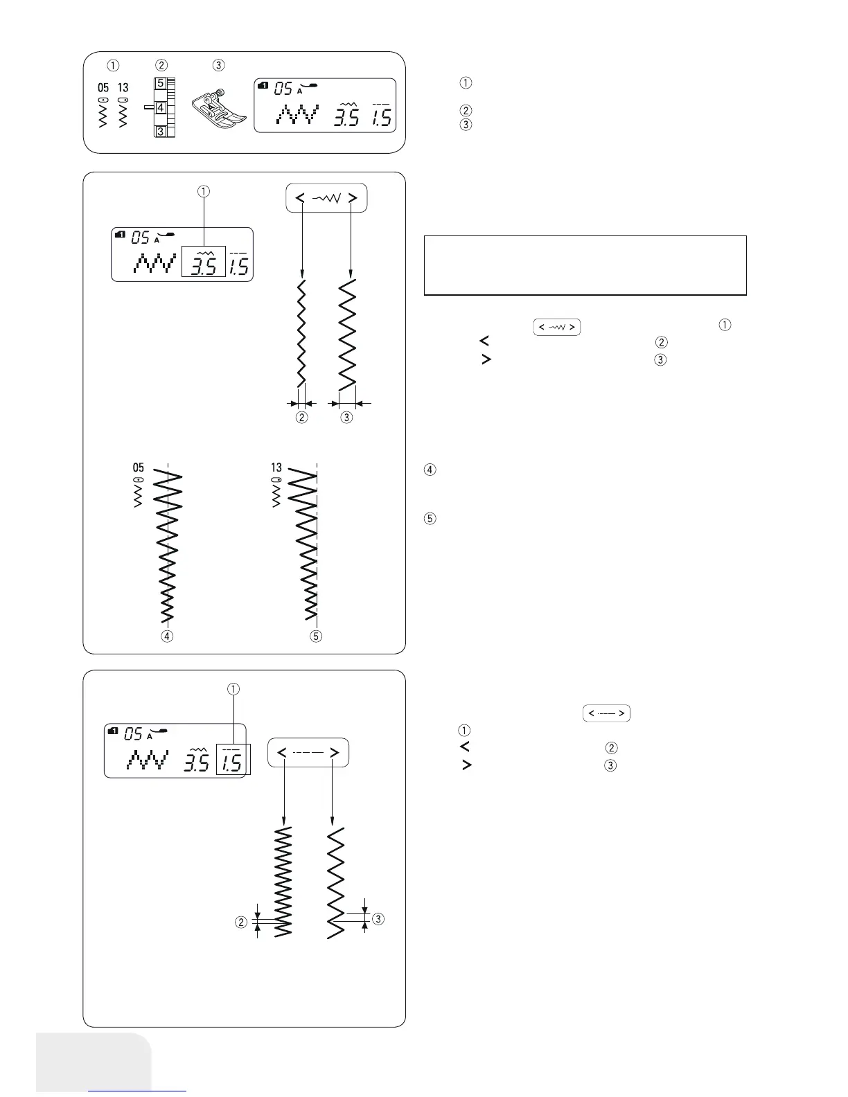
Adjusting the stitch length
Press the stitch length button to change the stitch
length
.
Press “
to decrease stitch length .
Press
to increase stitch length .
The stitch length can be varied from 0.2 to 5.0.
The zigzag stitch is one of the most useful and versatile
stitches.
It is used for overcasting, darning, appliqué, and also used as
a decorative stitch.
Zigzag
Stitch pattern: Mode 1 : 5
Mode 2 : 05 or 13
Thread tension: 2 - 6
Presser foot: Zigzag foot
To adjust the stitch width
Press the stitch width to change the stitch width .
Press the “
button to decrease stitch width .
Press the “
button to increase stitch width .
The stitch width can be varied from 0.0 to 7.0.
PLEASE NOTE:
Use an interfacing when sewing on stretch fabrics such
as knit, jersey or tricot.
The stitch width of pattern 05 can be changed without
changing its center needle position (M).
The stitch width of pattern 13 can be changed without
changing its right needle position (R).

Table of Contents

Related product manuals