EasyManua.ls Logo

Berthold LB 444 - Figure 11: Diagram Illustrating the Hysteresis

Default Icon
112 pages
Print Icon
To Next Page IconTo Next Page
To Next Page IconTo Next Page
To Previous Page IconTo Previous Page
To Previous Page IconTo Previous Page
Loading...
Density Meter LB 444 SECTION 2. SYSTEM DESCRIPTION
19
Product Data
Enter the product data for calibration separately for each product.
Product Selection
No. 1/2/3/4:
Enter the product number for calibration.
Current Output :
Select the start value 0 or 4 mA of the current output signals (26a/26c).
Current Output Limit Values:
0/4 mA: Enter the lower density or concentration values in the defined unit (see sk1 Cali-
brate).
20 mA: Enter the upper density or concentration values in the defined unit (see sk1
Calibrate).
Current output error:
Current: VALUE/HOLD
Value:
You can select this if the last measured value should be held in case an error is
detected ("HOLD"), or if an arbitrarily selected value between 0 and 22 mA
should be set. The requested value has to be entered after selecting "VALUE".
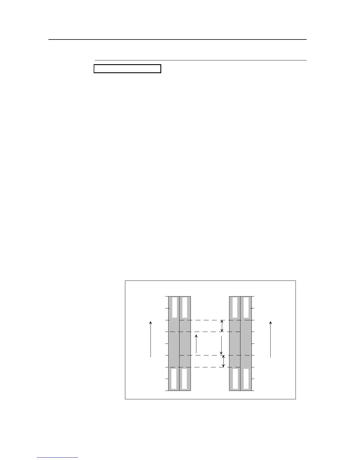
Relay No. 2 Setup:
Minimum/Maximum:
Hysteresis %:
Enter the relay break-over point within the selected density measuring range.
Depending on the setting as Max. or Min. function, the relay is de-energized
(circuit opening connection) when the selected value is exceeded or not
reached. If the displayed value drops again, the relay picks up again, delayed
by the value of the selected hysteresis. The switching hysteresis should be
about 5%.
Rel.
min.
1.0
1.2
1.4
1.6
1.8
Rel.
min.
Rel.
max.
Rel.
max.
3
Density in g/cm
Hysteresis
1.0
1.2
1.4
1.6
1.8
Signal
rising
Signal
falling
Hysteresis
de-energized
energized
de-energized
energized
energized
de-energized
de-energized
energized
3
Density in g/cm
Figure 11: Diagram illustrating the hysteresis

Table of Contents

Related product manuals