EasyManua.ls Logo

Big Backyard F23210 - Attach Monkey End Ground Stake

Big Backyard F23210
56 pages
Print Icon
To Next Page IconTo Next Page
To Next Page IconTo Next Page
To Previous Page IconTo Previous Page
To Previous Page IconTo Previous Page
Loading...
43 support@cedarsummitplay.com
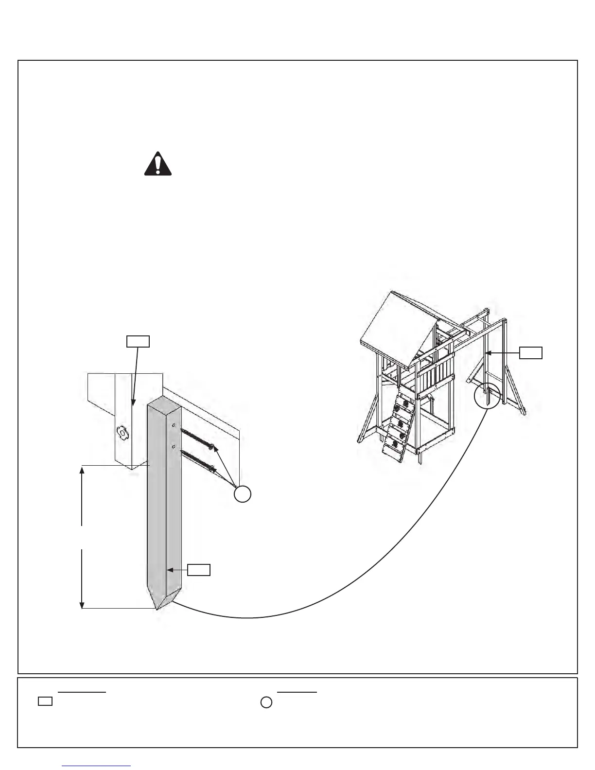
Step 25: Attach Monkey End Ground Stake
A:Drive1(0318)GroundStake10-1/2”intothegroundatone(1367)PostMKontheinsideoftheassemblyand
attachwith2(S3)#8x2-1/2”WoodScrews.(g.25.1&25.2)
Warning! To prevent tipping and avoid potential injury,
stakes must be driven 10-1/2” into ground. Digging or
driving stakes can be dangerous if you do not check
rst for underground wiring, cables or gas lines.
Fig. 25.1
0318
1367
10-1/2”InGround
Wood Parts Hardware
2 x #8 x 2-1/2” Wood Screw
S3
1 x Ground Stake 1-1/4 x 1-1/2 x 14”
0318
S3
Fig. 25.2
1367

Related product manuals