EasyManua.ls Logo

Broaster 1800 - Motor Wiring

Broaster 1800
131 pages
Print Icon
To Next Page IconTo Next Page
To Next Page IconTo Next Page
To Previous Page IconTo Previous Page
To Previous Page IconTo Previous Page
Loading...
10-5
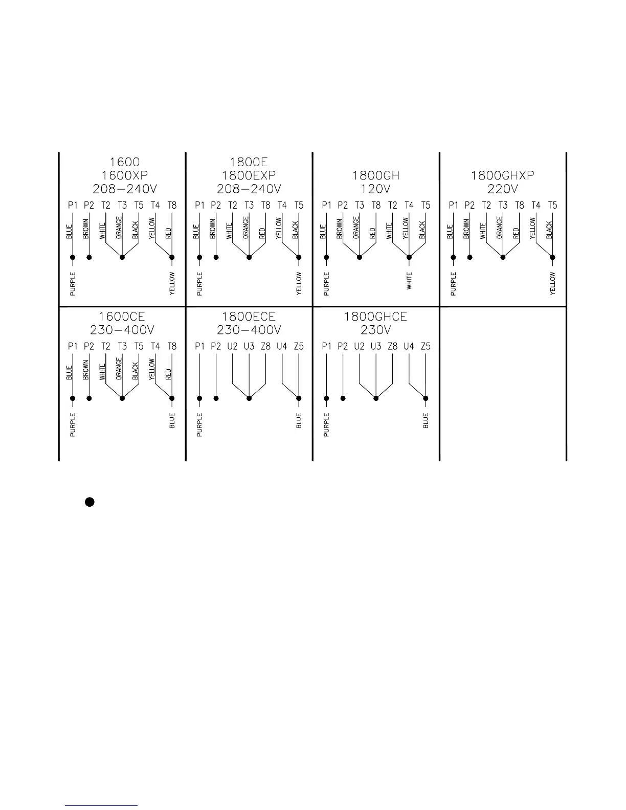
Be sure motor is wired for correct voltage and correct direction. See below for correct wire
connections.
MOTOR WIRING:
= WIRENUT
DOMESTIC & EXPORT
EUROPEAN UNION
broaster.com Manual #14680 3/99 Rev. 5/14

Table of Contents

Other manuals for Broaster 1800

Related product manuals