EasyManua.ls Logo

Dell PowerEdge C6220 - 1 Gbe Mezzanine Card Connectors

Dell PowerEdge C6220
316 pages
To Next Page IconTo Next Page
To Next Page IconTo Next Page
To Previous Page IconTo Previous Page
To Previous Page IconTo Previous Page
Loading...
304 | Installing System Components
1GbE Mezzanine Card Connectors
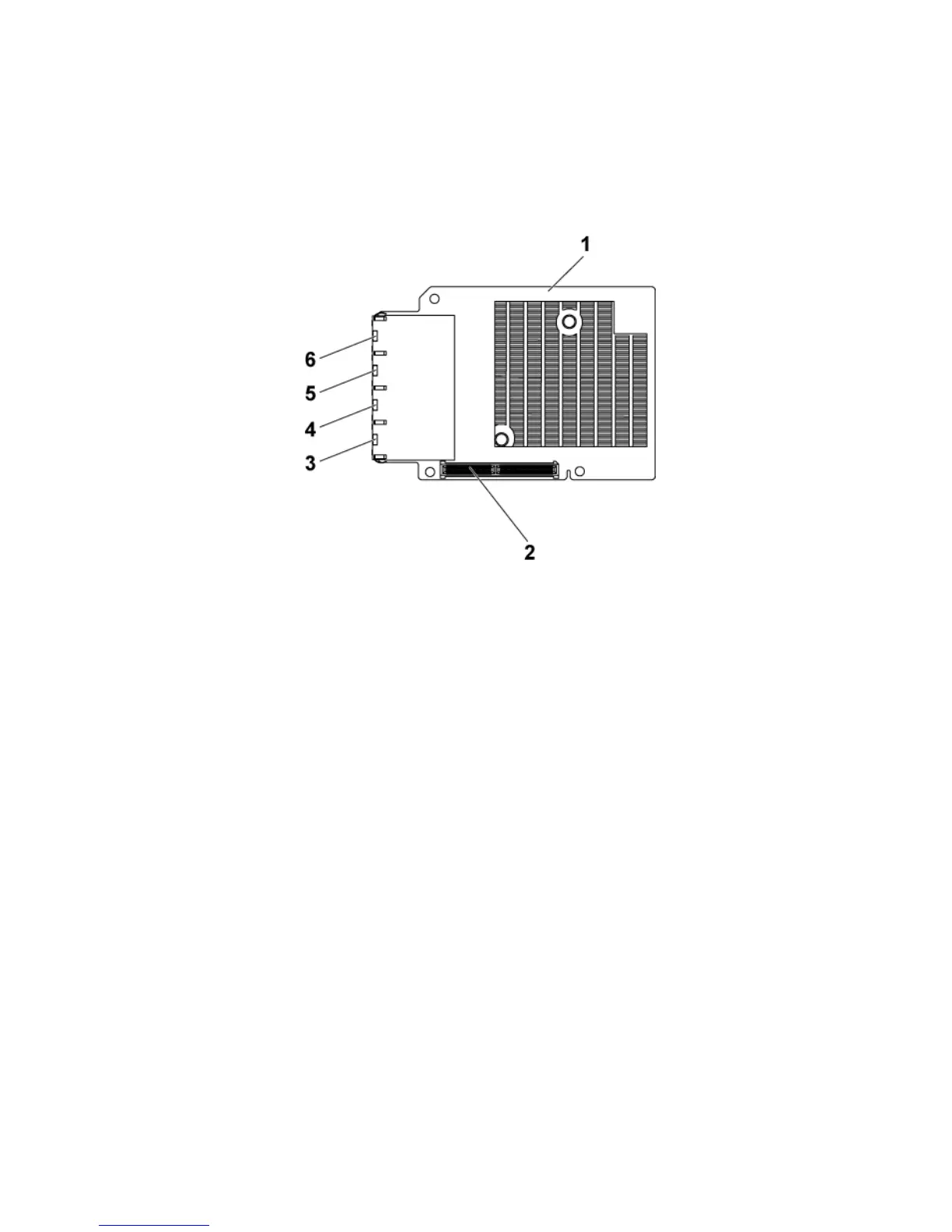
Figure 5-12. 1GbE Mezzanine Card Connectors
1
1GbE mezzanine card
2
mezzanine card connector
3
NIC connector 4
4
NIC connector 3
5
NIC connector 2
6
NIC connector 1

Table of Contents

Other manuals for Dell PowerEdge C6220

Related product manuals