EasyManua.ls Logo

Dionex RF-2000 - Page 68

Dionex RF-2000
88 pages
Print Icon
To Next Page IconTo Next Page
To Next Page IconTo Next Page
To Previous Page IconTo Previous Page
To Previous Page IconTo Previous Page
Loading...
Operating Instructions RF-2000
66
(5) Insert the inlet side Teflon packing (4 holes), flow cell, and outlet side Teflon
packing (1 hole) into the flow cell holder.
Be careful not to set the Teflon packings to wrong position.
(6) Screw in the outlet side knurled setscrew with the degree that no force is
applied to the flow cell, the inlet side Teflon packing and the outlet side Teflon
packing.
(7) Mount the flow cell guide. Tighten the M3 screw using the screwdriver and fix
the flow cell guide.
(8) Tighten the outlet side knurled setscrew by fingers.
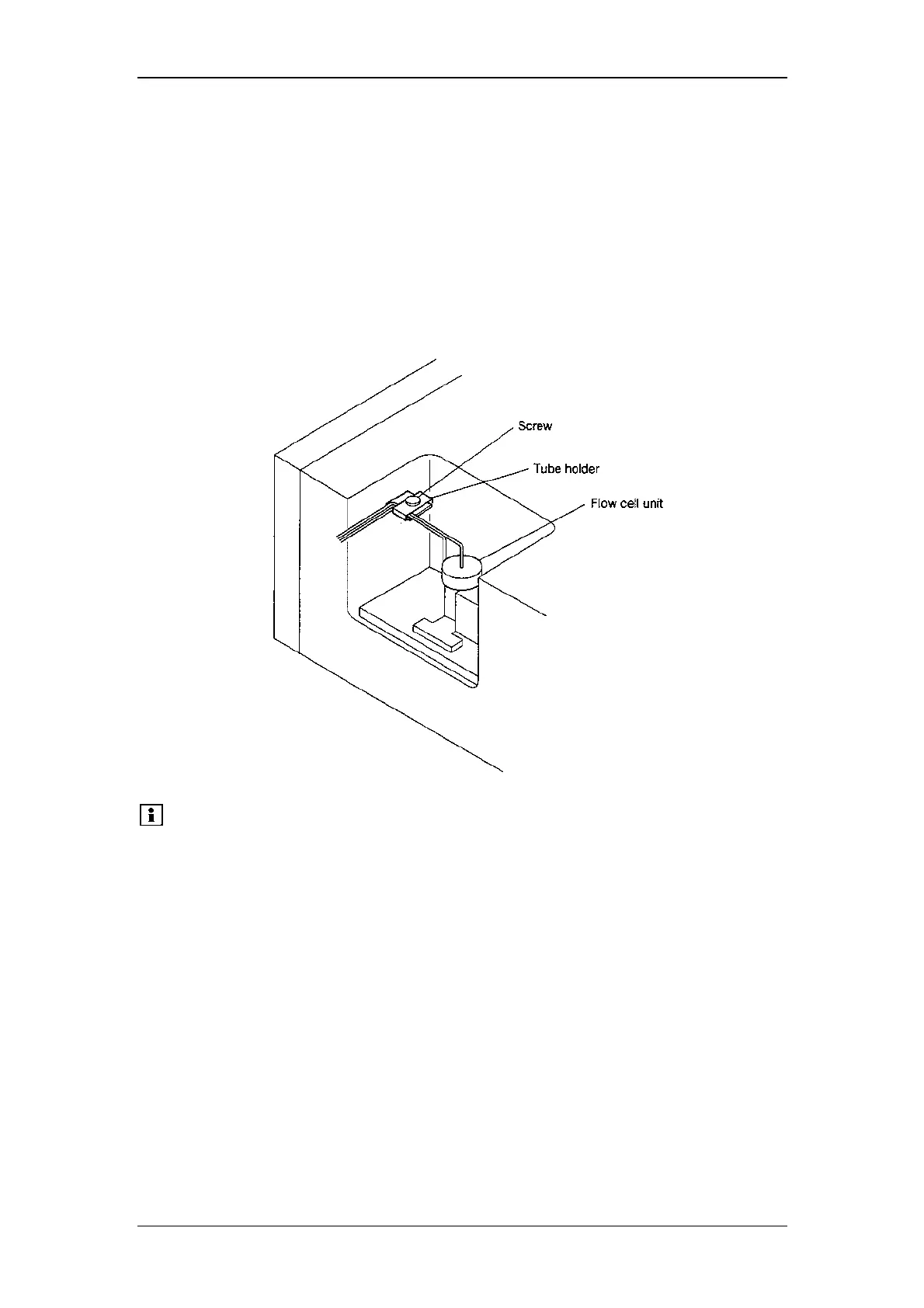
(9) Mount the flow cell unit on the instrument main body and fix it by tightening
the cell mounting screw.
(10) Fasten the tubes with the tube holder and tighten the screw to fix the tubes.
Please note:
1. Do not disassemble components other than the cell,
Teflon packings, cell retaining ASSY, and knurled
setscrews.
2. Be careful not to tighten the knurled setscrews without
setting Teflon packings at both sides of the cell as the
cell may be destroyed.
3. Be sure to use new Teflon packings to reassemble the
unit.

Table of Contents

Related product manuals