EasyManua.ls Logo

Dionex RF-2000 - 7 Control from External Equipment; Connecting External Input and Output Terminals

Dionex RF-2000
88 pages
Print Icon
To Next Page IconTo Next Page
To Next Page IconTo Next Page
To Previous Page IconTo Previous Page
To Previous Page IconTo Previous Page
Loading...
Operating Instructions RF-2000
56
7 Control from External Equipment
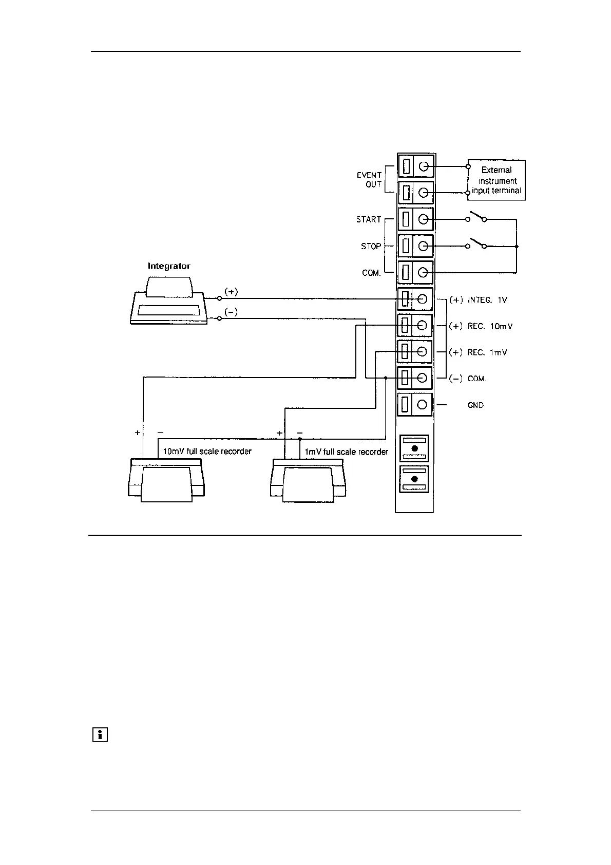
7.1 Connecting External Input and Output Terminals
Terminal name Explanation
EVENT OUT
Note)
Outputs signals for relay contact (maximum rating: 50V, 0.1A).
It is turned ON/OFF according to the program or the set value
of EVENT parameter in AUX. FUNC.
START Starts this instrument by external contact signals. Time
program is started by shorting this terminal with COM terminal.
STOP Stops this instrument by external contact signals. Time
program is stopped by shorting this terminal with COM
terminal.
COM. COMMON terminal for START and STOP signal.
(+) INTEG. 1V Signal output terminal connected to integrator (1V full scale) .
(+) REC. 10mV Signal output terminal connected to recorder.
(+) REC. 1mV (10mV full scale, 1mV full scale)
(-) COM. COMMON terminal for INTEG. and REC.
GND Grounding terminal
Please note:
EVENT OUT terminal is turned ON for several seconds in the
period from powering up until the detector initialization is
completed. Take care so that the external equipment does not
malfunction.

Table of Contents

Related product manuals