EasyManua.ls Logo

Dionex RF-2000 - Replacement of Fuses

Dionex RF-2000
88 pages
Print Icon
To Next Page IconTo Next Page
To Next Page IconTo Next Page
To Previous Page IconTo Previous Page
To Previous Page IconTo Previous Page
Loading...
Operating Instructions RF-2000
5
1.3 Replacement of Fuses
This unit uses the following fuse. Be sure to replace the fuse of the same type and
capacity.
Power supply voltage: 220-240 V
Part no. 706.072.0165221
250V 3.15AT
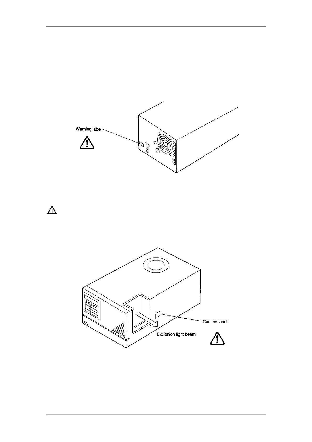
Important:
When the xenon lamp is lit, the flow cell is irradiated by the
excitation light beam. Do not look into the excitation light beam,
while the xenon lamp is lit.

Table of Contents

Related product manuals