EasyManua.ls Logo

Dionex RF-2000 - Control from External Equipment Via RS-232 C

Dionex RF-2000
88 pages
Print Icon
To Next Page IconTo Next Page
To Next Page IconTo Next Page
To Previous Page IconTo Previous Page
To Previous Page IconTo Previous Page
Loading...
Operating Instructions RF-2000
58
7.2 Control from External Equipment via RS-232C
An external device or data system such as CHROMELEON can control the RF-2000
using the RS-232C interface. This section explains how to connect the RF-2000 to an
external system and how to operate the RF-2000 using external control.
7.2.1 Connecting external equipment
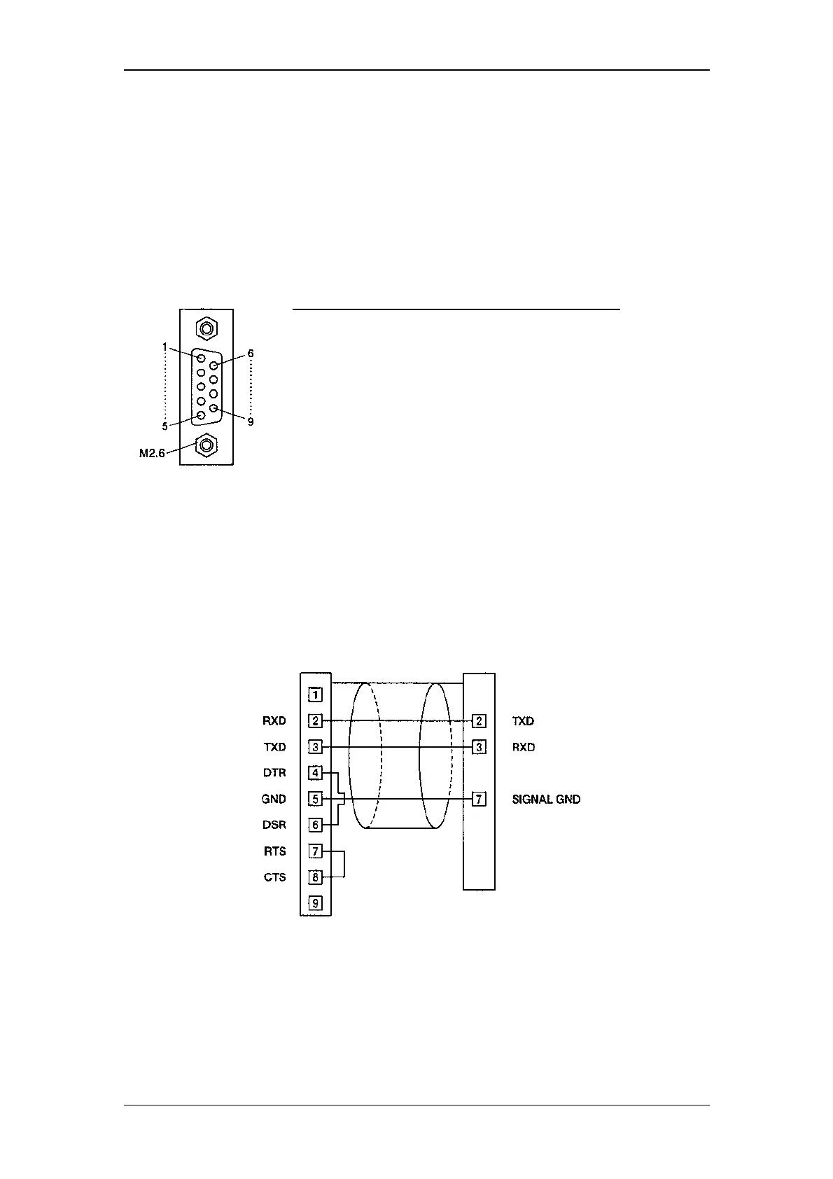
The pins of RS-232C terminal at the rear panel of the RF-2000 are defined as shown
in the figure below.
9-Pin Female
DSUB type connector
Use the optional RS-232C cable (part no. 8914.0115) for the connection between the
RF-2000 and a PC.
The figure below shows the connection in this cable.
PC side RF-2000 side
9-pin female DSUB Type
connector
9-pin male DSUB type connector
Pin No. Signal name Function
1 FG Frame grounding
2 T x D Output data line
3 R x D Input data line
4 NC Not connected
5 NC Not connected
6 NC Not connected
7 SG Signal grounding
8 NC Not connected
9 NC Not connected

Table of Contents

Related product manuals