EasyManua.ls Logo

Doosan P185WDO-T4F - Quick View Screens

Doosan P185WDO-T4F
114 pages
Print Icon
To Next Page IconTo Next Page
To Next Page IconTo Next Page
To Previous Page IconTo Previous Page
To Previous Page IconTo Previous Page
Loading...
Operation&MaintenanceManualOPERATINGINSTRUCTIONS
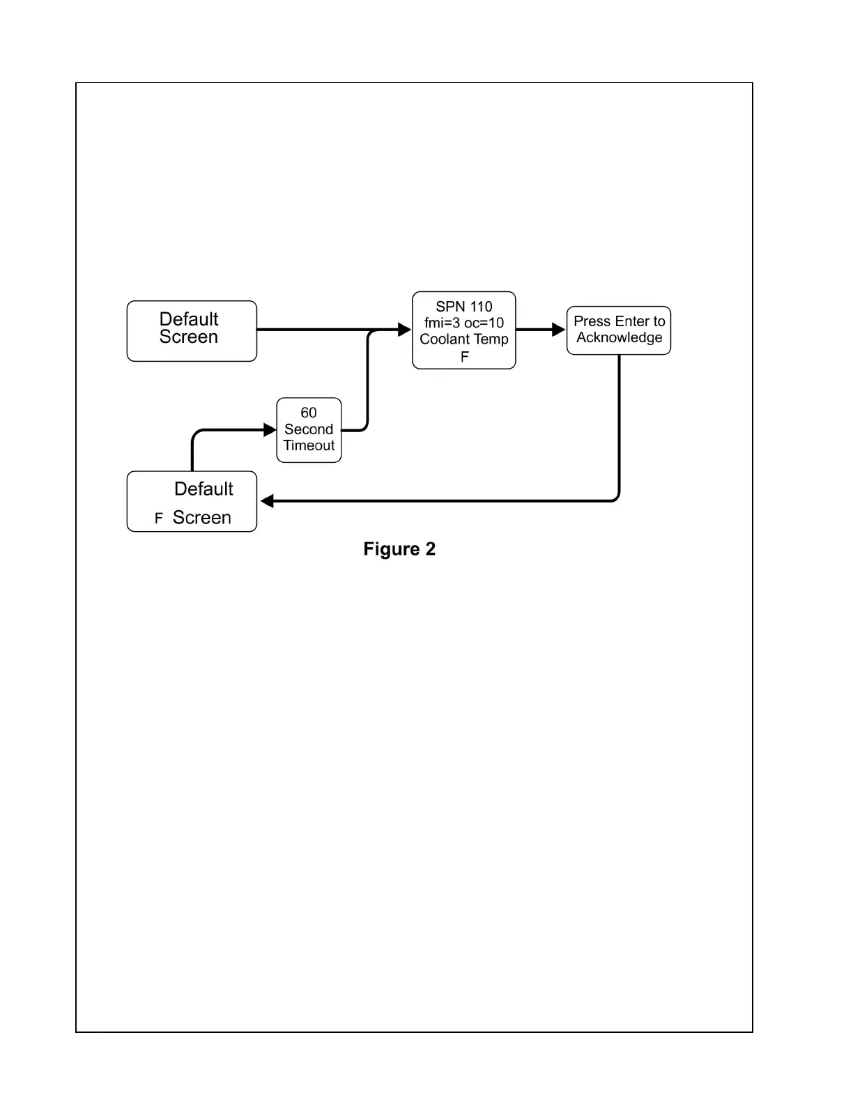
FaultandAlert
IfaFAULToccurs,thedisplayunitwilldisplaytheSPN,FMI,OCanddescriptionforEngine
FaultortheCPRCodeandDescriptionforCompressorError.AnEngineFaultwillbe
displayedonlywhentheengineisshutdown.TheFAULThastobeacknowledgedbythe
userbypressingtheEnterbutton.TheunitdoesnottimeoutintheFaultDisplay,After60
seconds,iftheFAULTisstillactive,theFaultDisplaywillappearagainonthescreenandwill
remainuntilacknowledgedbytheuser.ThiswillcontinuetooccuraslongastheFAULTis
active.SeeFigure2.
42

Related product manuals