EasyManua.ls Logo

Doosan P185WDO-T4F - Service Interval Set up

Doosan P185WDO-T4F
114 pages
Print Icon
To Next Page IconTo Next Page
To Next Page IconTo Next Page
To Previous Page IconTo Previous Page
To Previous Page IconTo Previous Page
Loading...
Operation&MaintenanceManualOPERATINGINSTRUCTIONS
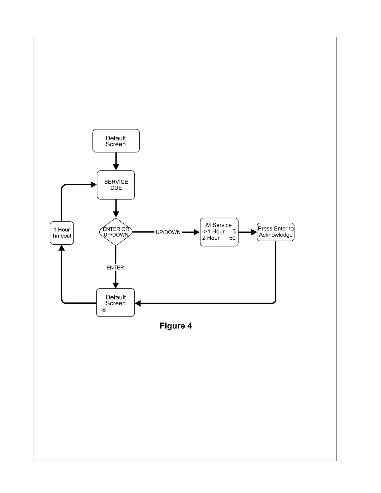
ServiceIntervalSetUp
Servicewillpopuponthescreenafteroneofthetwohourservicechannelshasdecremented
to5hours.TheuserwillpresstheUPorDOWNbuttontodisplaytheservicechannelsor
presstheenterbuttontoacknowledgeaservicehasoccurred.PressingtheENTERbutton
aftertheservicechannelshavebeendisplayed,acknowledgesthemessageandthedisplay
unitreturnstothedefaultscreen.Ifserviceisbetween5and0hoursoritremainsat0hours,
theSERVICEDUEdisplaywillappeareveryhour.T odisable,theusercanresetthehoursto
theOFFpositionbydecreasingthevaluetoOFF .SeeFigure4.
44

Related product manuals