EasyManua.ls Logo

Doosan P185WDO-T4F - Compressor ID Set Up

Doosan P185WDO-T4F
114 pages
Print Icon
To Next Page IconTo Next Page
To Next Page IconTo Next Page
To Previous Page IconTo Previous Page
To Previous Page IconTo Previous Page
Loading...
Operation&MaintenanceManualOPERATINGINSTRUCTIONS
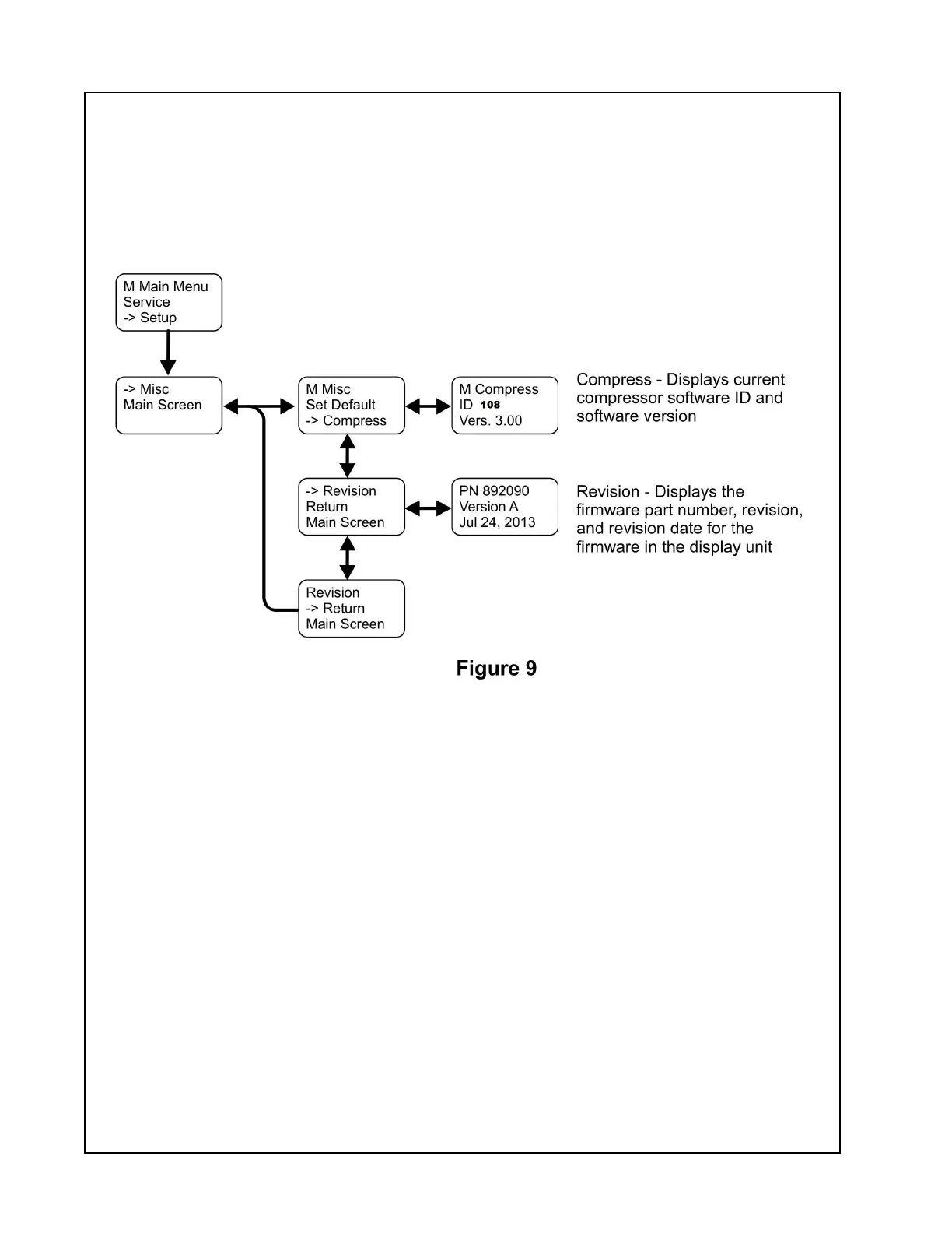
CompressorandDisplayGaugeSoftwareVersions
TheCompressorandDisplaysoftwareinformationcanbedisplayedbyaccessingtheMisc
Menu.ToaccesstheMiscMenu,pressandholdtheENTERbuttonwhiletheDefaultScreen
isdisplayeduntiltheMainMenuappears.ScrolltotheMiscoptionusingtheDOWNbutton
thenpresstheENTERbutton.UsetheDOWNorUPbuttonstohighlightandtheENTER
buttontoselectthedesiredpreference.T oreturntothedefaultscreen,usetheDOWNbutton
tohighlighttheMainScreenmenuitemandpresstheENTERbutton.SeeFigure9.
49

Related product manuals