EasyManua.ls Logo

Elkron MP500/8 - System Architecture; Bus Data

Elkron MP500/8
116 pages
Print Icon
To Next Page IconTo Next Page
To Next Page IconTo Next Page
To Previous Page IconTo Previous Page
To Previous Page IconTo Previous Page
Loading...
14
MP500/4N-8-16 Installation
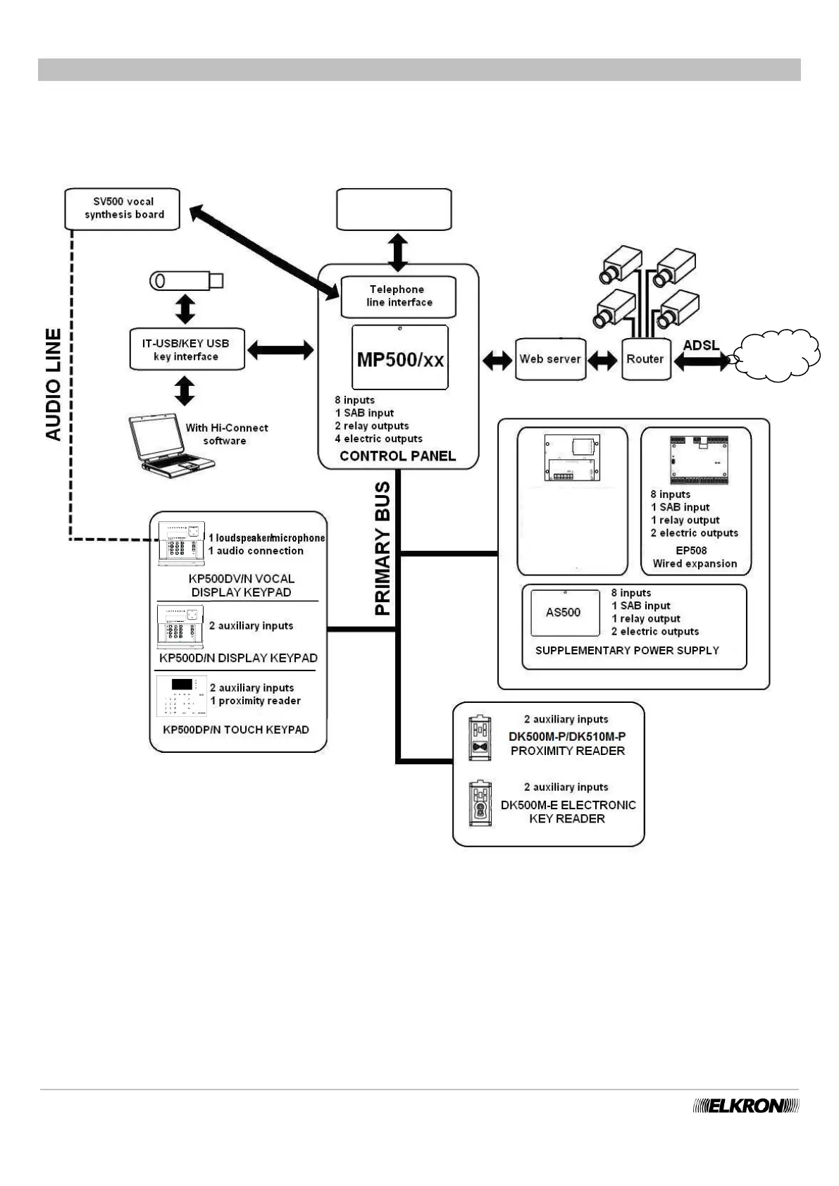
1.2 SYSTEM ARCHITECTURE
1.2.1 Architecture
The diagram illustrates the devices and connections that can eventually be managed by the MP500/4N, MP500/8 and MP500/16
control panels. For the maximum dimensions the system can reach (combinations of devices and their maximum number) see the
paragraph 1.2.3 Maximum system size.
Figure 1 - System Architecture of the MP500/4N - MP500/8 - MP500/16
1.2.2 Bus Data
Control panel, keypads, readers, expansion modules and radio modules are interconnected by a 4-wire bus.
The 4 wires transmit information among the various devices and supply 12 V power from the MP500/4N, MP500/8 or MP500/16
control panel to the keypad, readers, expansion modules, and radio modules.
The use of the bus noticeably simplifies the wiring, given that, for example, the information of a group of detectors located far from the
control panel and concentrated on a remote EP508 expansion module can be controlled with just 4 wires.
Web
GSM IMG500/N
Module
*
Radio Expans.
For details,
refer to the
dedicated
manual
**
Notes:
* MP500/4N control panel = 4 inputs,1 SAB input,
1 relay output,1 electric output
**= not available in the MP500/4N control panel.
***= not present in the KP500D/ST keypad.
***
KP500D/ST TOUCH KEYPAD

Table of Contents