EasyManua.ls Logo

Elkron MP500/8 - Connecting the Data Bus; Connecting the Audio Bus

Elkron MP500/8
116 pages
Print Icon
To Next Page IconTo Next Page
To Next Page IconTo Next Page
To Previous Page IconTo Previous Page
To Previous Page IconTo Previous Page
Loading...
MP500/4N-8-16 Installation
79
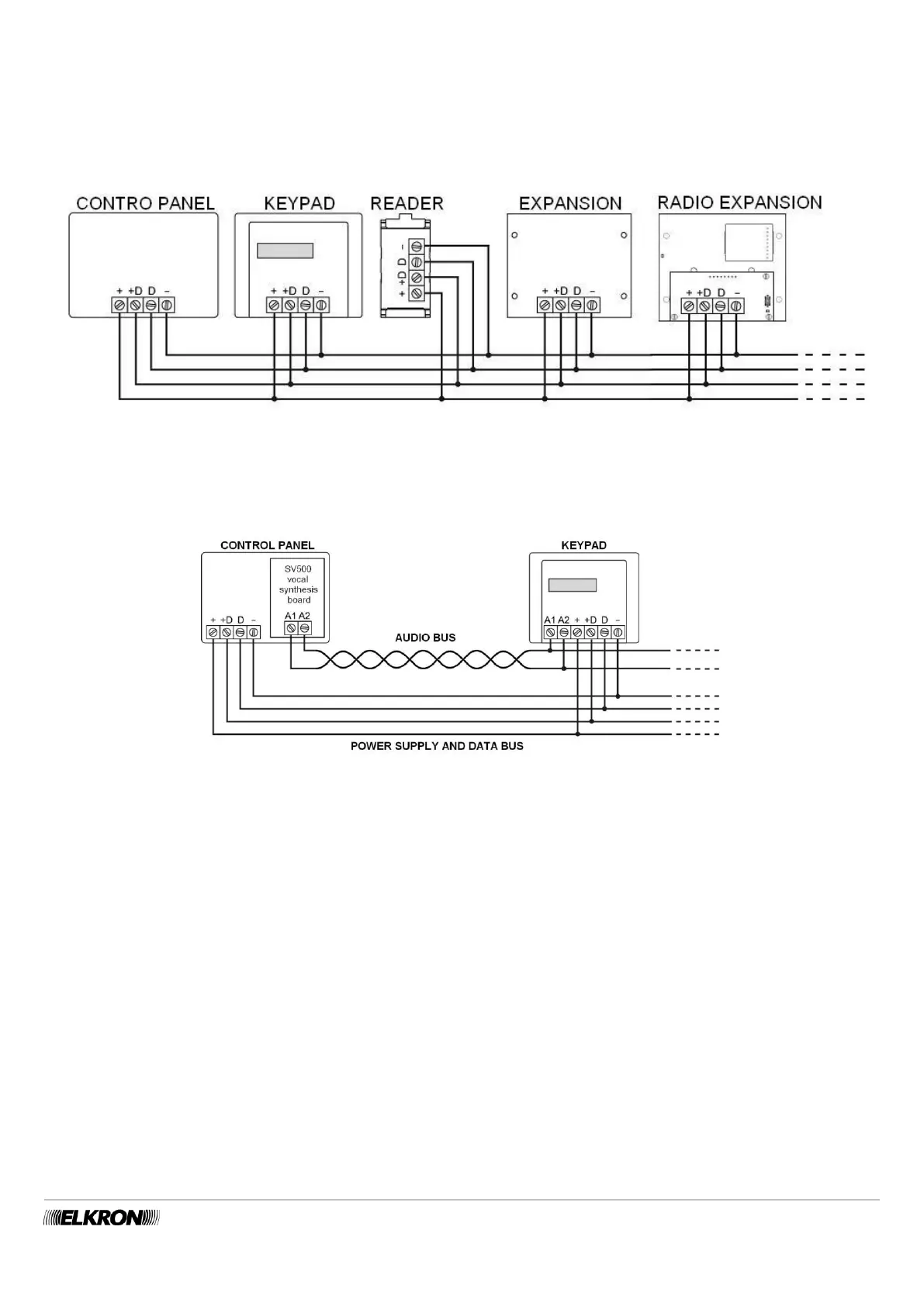
5.12.2 Connecting the data Bus
Connect the terminals +, +D, D and the cable to the 4 wires of the bus; this will enable the communications among the control panel,
readers, keypads, any expansions present.
The data bust requires no terminal resistors.
The cable shieldings can be connected together in the control panel at the negative pole () of the power supply.
The Figure 56 - Connections via bus demonstrates how to connect the various devices to each other via the bus line.
Figure 56 - Connections via bus
5.12.3 Connecting the audio Bus
Connect, if necessary the twisted pair of the audio bus to the A1 and A2 terminals of the SV500N vocal synthesis board.
When connecting the audio bus, it is not necessary to take the polarity into account.
Figure 57 - Connections the audio bus

Table of Contents