EasyManua.ls Logo

Elkron MP500/8 - Page 73

Elkron MP500/8
116 pages
Print Icon
To Next Page IconTo Next Page
To Next Page IconTo Next Page
To Previous Page IconTo Previous Page
To Previous Page IconTo Previous Page
Loading...
MP500/4N-8-16 Installation
73
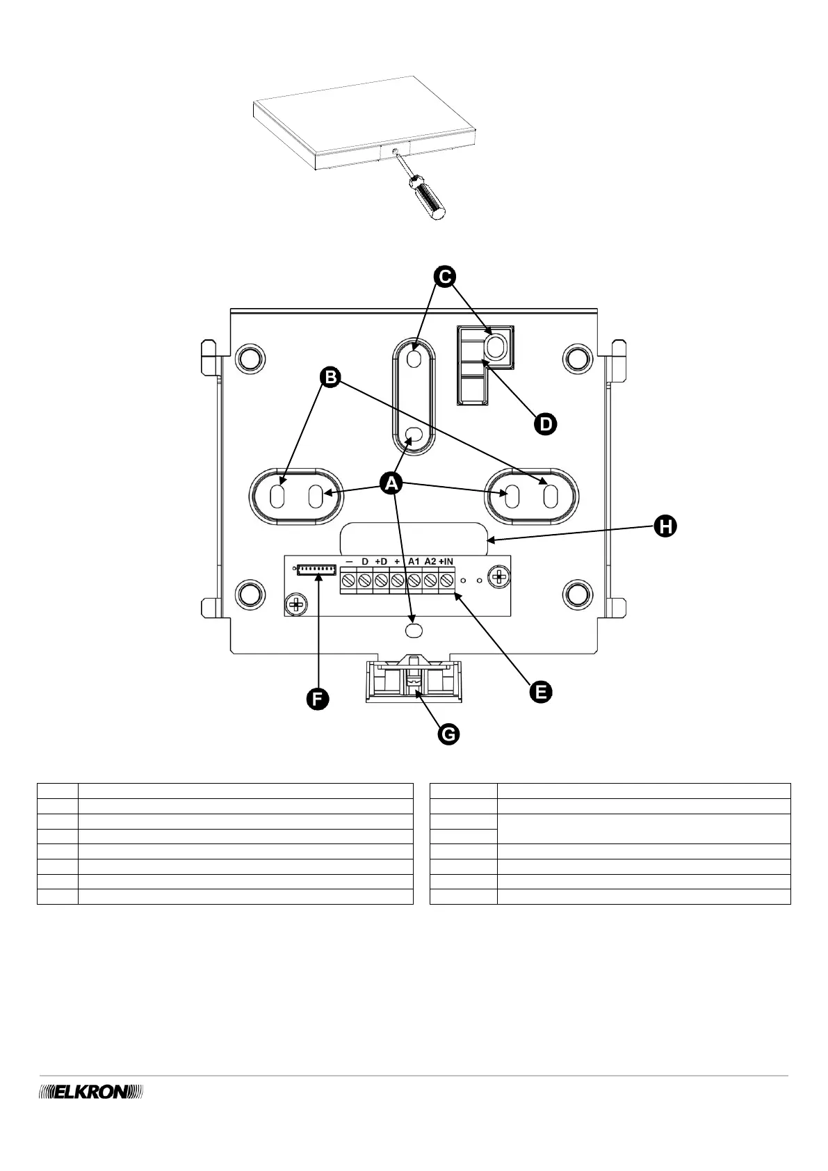
3. Open the keypad by putting a screwdriver into the slot on the lower side and lifting gently.
Figure 50 - Opening the KP500DP/N - KP500D/ST keypad
Figure 51 - Holes for fastening and running the cables of the KP500DP/N - KP500D/ST keypad
A
Holes for fastening onto the Ø 60 mm built-in box
Terminal
Description of detail
B
Holes for fastening to 3-place box
+
BUS Expansion unit power input via bus
C
Holes for removal protection screws
+D
BUS Data transmission/reception
D
Plastic insert for anti-removal protection
D
E
Connection terminal board
BUS keypad power supply via bus
F
Keypad connector
+IN
Power supply for auxiliary inputs
G
Closure screws
A1
Auxiliary input
H
Hole for running cables
A2
Auxiliary input 2
4. To use the anti-removal device, put an expansion screw in hole “C” and fasten it to block “D”. For EN50131 Degree 3 certification, it
must always be used, even if the keypad is fixed to a flush-mounting box. This requirement is not mandatory for Degree 2 or lower
installations.
5. Connect the bus cable to the terminal board. For details of the connection, see paragraph 5.12.2 Connecting the data Bus.
6. Insert the small cable coming out of the keypad in the dedicated connector F”. Place the cable so that it fits into the specially
designed space at the bottom of the keypad; this prevents it from being crimped when assembling the keypad to the bracket.
7. Insert the keypad block into the bracket and slide it downward.
8. Block it with a fastening screw “G.

Table of Contents