Disassembly and Assembly
Removing the C094 MAIN Board Assembly
1.
2.
3.
4.
5.
6.
7.
8.
9.
Remove the paper guide assembly, ribbon, top cover, front cover, paper eject cover, and tractor
unit. (See page 4-5.)
Remove the panel unit. (See page 4-6.)
Remove
the upper housing assembly. (See page 4-8.)
Remove the printer mechanism. (See page 4-9.)
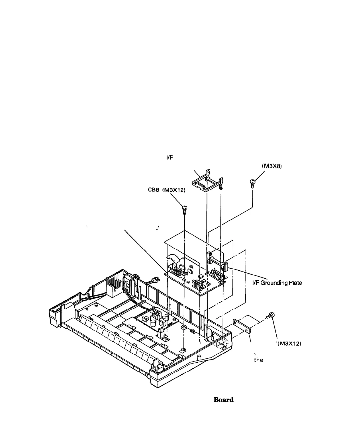
Disconnect the cable from connector CN2 on the C076 PSB board assembly.
Remove I/F’ support
from
the C094 MAIN board assembly.
Remove the two CBS (M3X12) screws securing the cover for the optional interface card.
Remove the
CBC (M3X8) screw and the five CBB (M3X12) screws securing the C094 MAIN.
board assembly. Remove the I/F’ grounding plate.
Remove the C094 MAIN board assembly.
I/F
Support
\
CBC
(M3X8)
CO94 MAIN Board Assembly
I/F Grounamg Plate
7
.-
_-_.
p.gj
\ CBS
(M3X12)
Cover for
;he
Optional
Interface Card
Figure 4-25. Removing the CO94 MAIN Board Assembly
Epson FX-8700170
4-23