EasyManua.ls Logo

ERS AirCool plus - Spare Parts

Default Icon
55 pages
Print Icon
To Previous Page IconTo Previous Page
To Previous Page IconTo Previous Page
Loading...
ERS
®
Manual / AirCool
®
plus
-System / SP72_TA1C8 / -55°C +200°C / Ver. 02.02 54
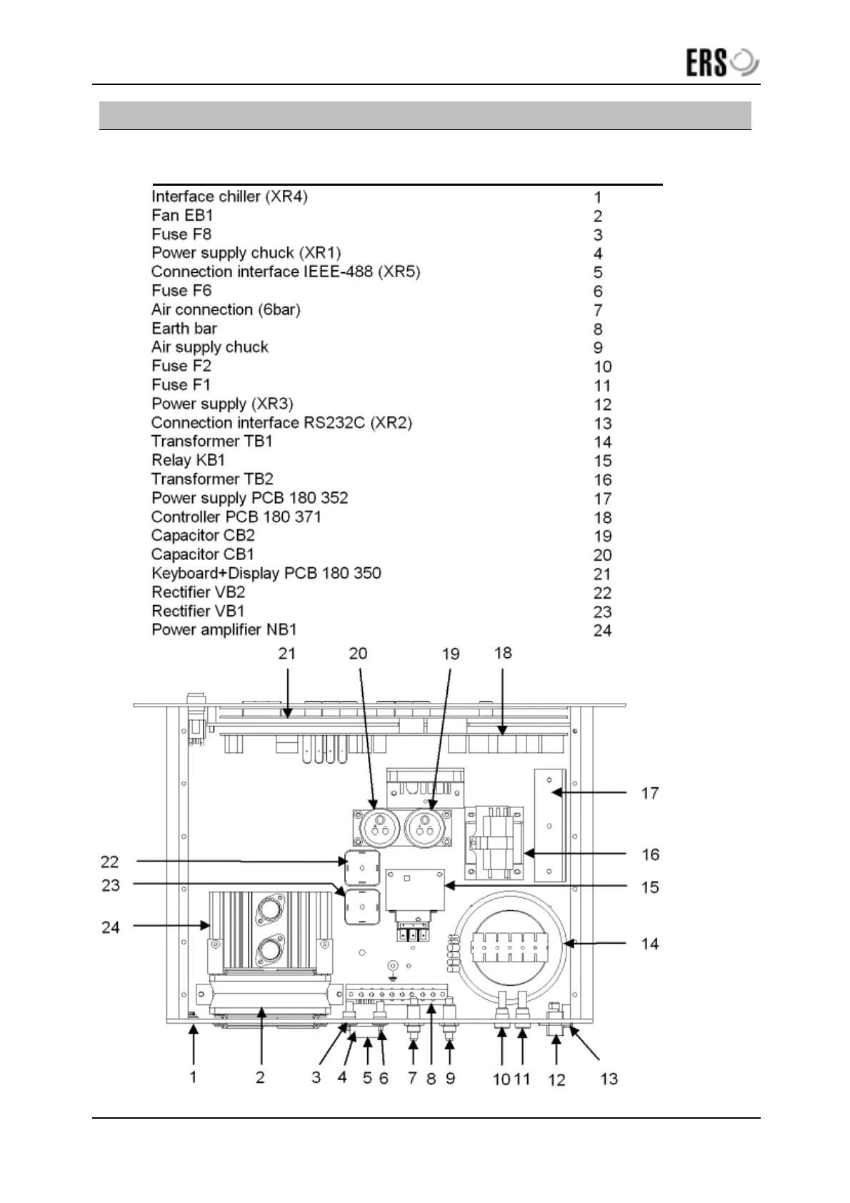
12.3 Spare parts
Description Spare part number

Table of Contents