EasyManua.ls Logo

ESAB A2-A6 PEK - Internal Connections

ESAB A2-A6 PEK
64 pages
Print Icon
To Next Page IconTo Next Page
To Next Page IconTo Next Page
To Previous Page IconTo Previous Page
To Previous Page IconTo Previous Page
Loading...
INSTALLATION AND CONNECTIONS
0740 801 028
- 15 -
© ESAB AB 2017
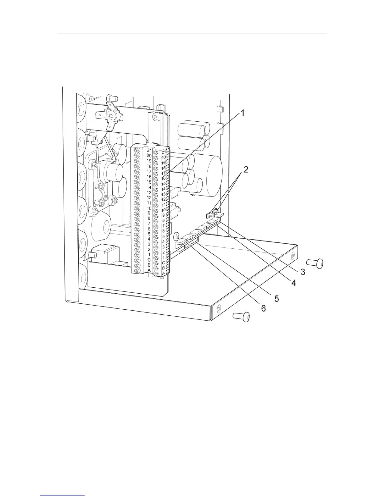
Internal connections
1. X1 Terminal block for connection of limit
switches, flux/gas, 42VAC, arc voltage
andemergency stop
4. CN16 Connection for travel motion pulse
encoder
2. CN19, CN20 Voltage selection for
encoders
5. CN7 Connection for motor (wire feed)
3. CN17 Connection for wire feed pulse
encoder
6. CN6 Connection for motor (travel motion)