EasyManua.ls Logo

ESAB A2-A6 PEK - A2, A6 PEK Control Unit, Serial No. 921-, 943-, 049-, 327-XXX-XXXX

ESAB A2-A6 PEK
64 pages
Print Icon
To Next Page IconTo Next Page
To Next Page IconTo Next Page
To Previous Page IconTo Previous Page
To Previous Page IconTo Previous Page
Loading...
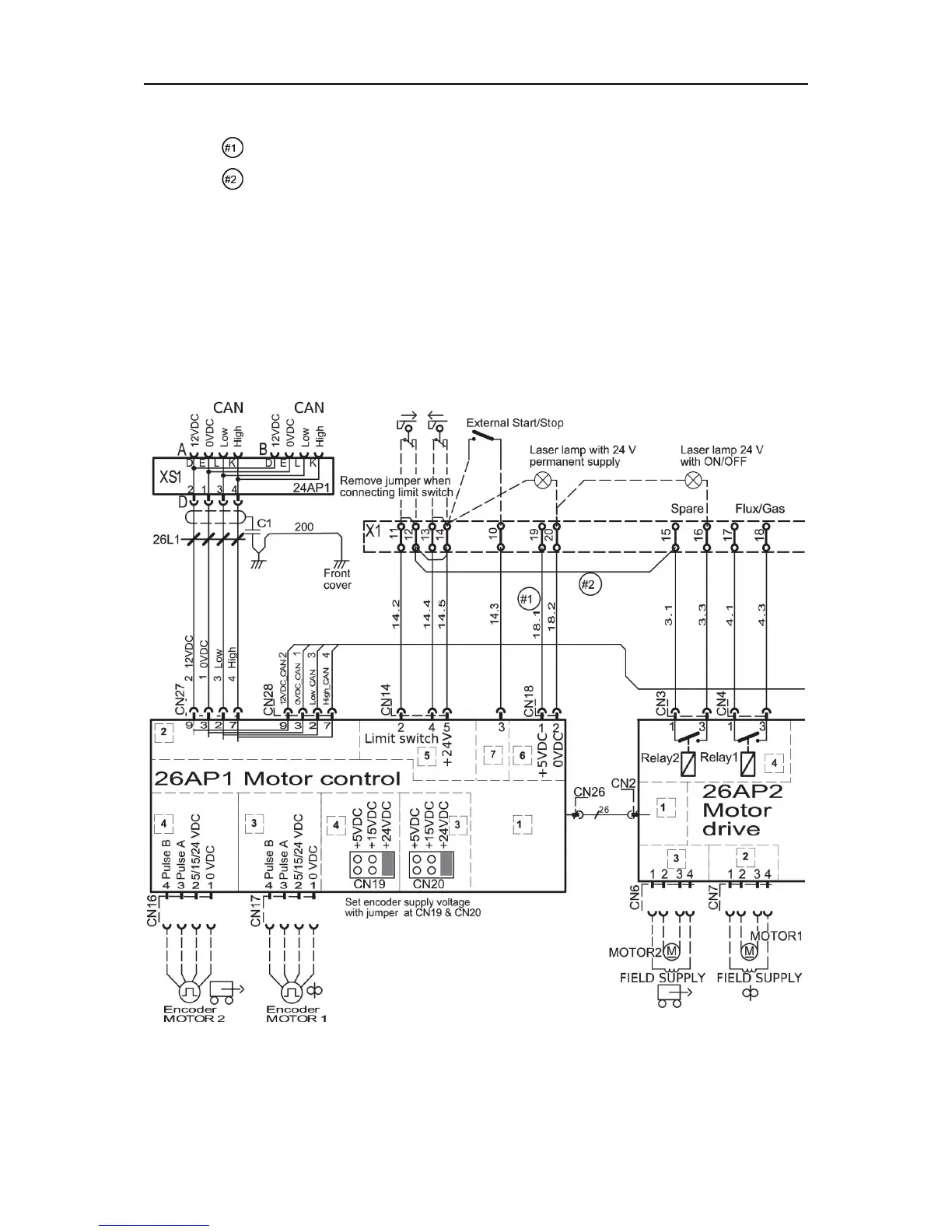
WIRING DIAGRAM
0740 801 028
- 8 -
© ESAB AB 2017
A2, A6 PEK Control Unit, Serial no. 921-, 943-, 049-, 327-xxx-xxxx
Updates:
From serial no. 921-010-XXXX: Cable 18.1 removed
From serial no. 921-010-XXXX: Wire jumper X1:12 to X1:15 introduced

Related product manuals