EasyManua.ls Logo

Felder RL 250 - Fire Extinguisher: Extinguisher; Floor Space Requirement

Felder RL 250
48 pages
Print Icon
To Next Page IconTo Next Page
To Next Page IconTo Next Page
To Previous Page IconTo Previous Page
To Previous Page IconTo Previous Page
Loading...
25
SW 10 mm
!
"
X
min. 200 mm
!
"
!
Dust Extractor
RL 250 / RL 300 / RL 350
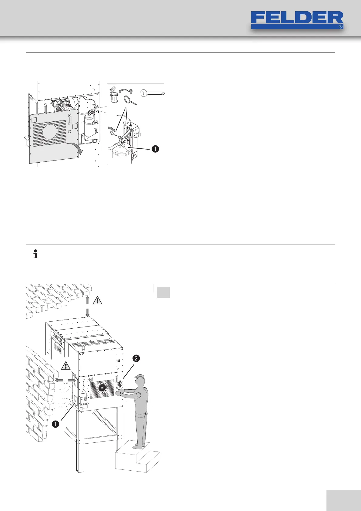
6.3.2 Fire extinguisher: Extinguisher
Fig. 6-6: Floor space requirement
6.4 Floor space requirement
Fig. 6-6: Floor space requirement
Setup and installation
!Manometer
"Securing bolt / Retaining ring
To fight this fire hazard, the dust extractor has been
equipped with an automatic spark extinguisher.
1. Take off the covering lid.
2. Loosen and remove the securing bolt
3. Retaining ring: pull out
4. Reassemble the cover.
See individual assembly instructions
Extinguisher 12 kg
Fig. 6-5.2: Fire extinguisher - Extinguisher
Note: Ensure that there is sufficient space to work around the machine.
To operate and maintain the machine, leave a min. of 2000 mm space all around the machine. (Inserting/
replacing the chip bags)
Attention!
Fire extinguisher: Extinguisher
Access via the opening on the back of the machine. Use a set
of safe steps or a fixed platform if necessary.
Frequency converter version
In order to maintain and operate the machine properly, it
must be set up at least 500 mm away from the wall,
parallel to the work direction (measurement X).
Important information:
Operation/room temperature: +10° to +40° C
Adequate ventilation e.g. to enable ample air
circulation for the machine cooling system / Equipment
cabinet
if required:
Clean the electric box ventilation.
!Ventilation cowl
"Fire extinguisher: Extinguisher

Table of Contents

Related product manuals