EasyManua.ls Logo

Flashforge Guider 3 Ultra - Page 36

Flashforge Guider 3 Ultra
78 pages
Print Icon
To Next Page IconTo Next Page
To Next Page IconTo Next Page
To Previous Page IconTo Previous Page
To Previous Page IconTo Previous Page
Loading...
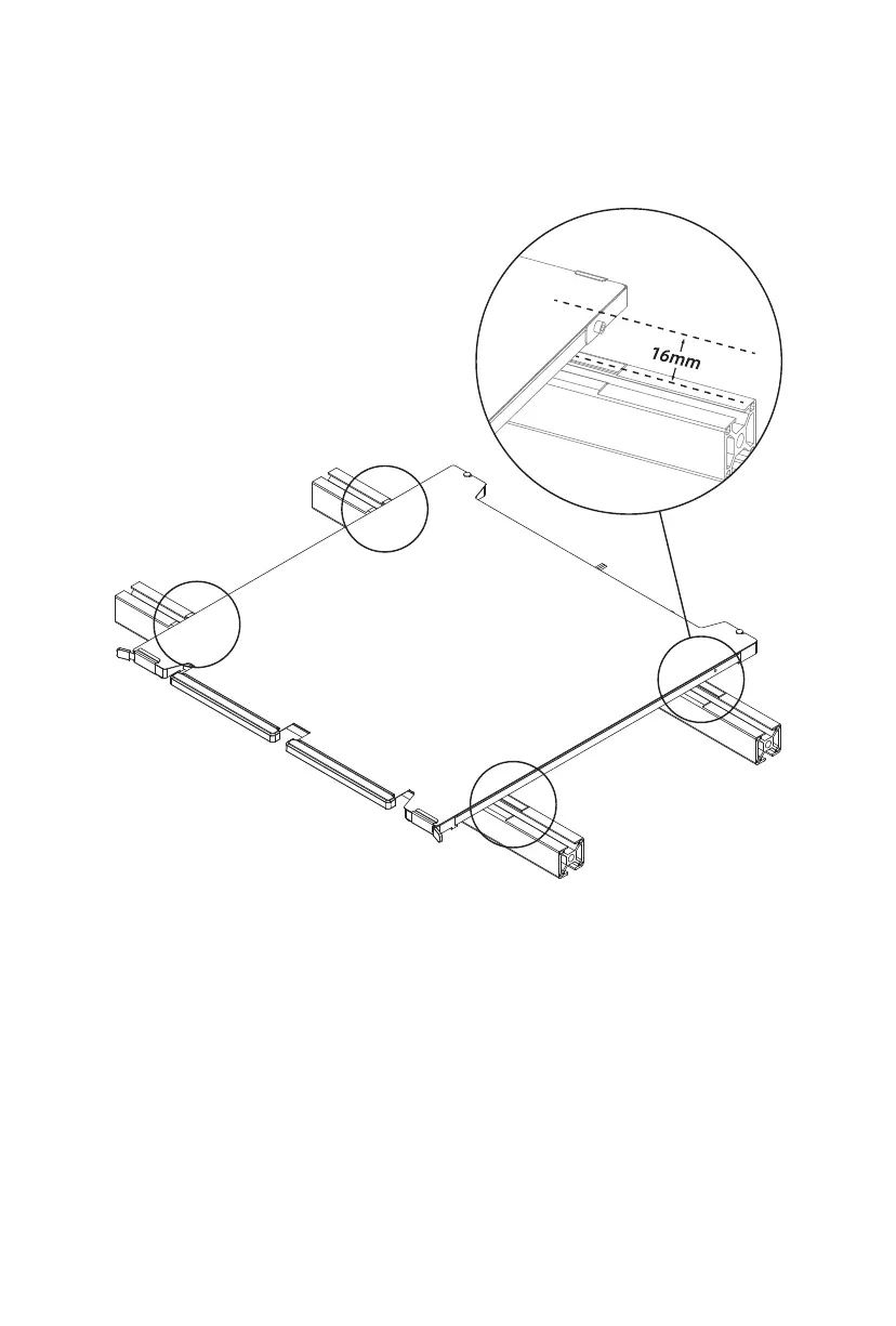
For the initial placement of the platform
plate, you can use a vernier caliper or 16mm
equal-height blocks to confirm the distance
between the platform sticker and the profile
at the four corners.
35

Related product manuals