EasyManua.ls Logo

Flashforge Guider 3 Ultra - Page 74

Flashforge Guider 3 Ultra
78 pages
Print Icon
To Next Page IconTo Next Page
To Next Page IconTo Next Page
To Previous Page IconTo Previous Page
To Previous Page IconTo Previous Page
Loading...
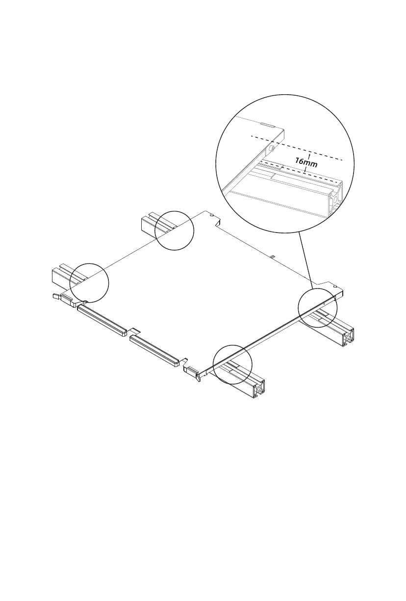
平台板初次放置,可用游标卡尺或16mm等高块
标定四个角处的平台贴纸到型材间的距离。
73

Related product manuals